СОЕДИНЕНИЯ КОНТАКТНЫЕ ЭЛЕКТРИЧЕСКИЕ КЛАССИФИКАЦИЯ. ОБЩИЕ ТЕХНИЧЕСКИЕ ТРЕБОВАНИЯ ГОСТ 10434-82
ГОСУДАРСТВЕННЫЙ СТАНДАРТ СОЮЗА ССР
СОЕДИНЕНИЯ КОНТАКТНЫЕ ЭЛЕКТРИЧЕСКИЕ
Классификация. Общие технические требования
Electric contact connections. Classification.
General technical requirements
ГОСТ 10434-82
Дата ведения 01.01.83
Настоящий стандарт распространяется на разборные и неразборные электрические контактные соединения шин, проводов или кабелей (далее - проводников) из меди, алюминия и его сплавов, стали, алюмомедных проводов с выводами электротехнических устройств, а также на контактные соединения проводников между собой на токи от 2,5 А. Для контактных соединений электротехнических устройств на токи менее 2,5 А требования стандарта являются рекомендуемыми. Требования стандарта в части допустимого значения электрического сопротивления и стойкости контактных соединений при сквозных токах распространяются также на контактные соединения в цепях заземляющих и защитных проводников из стали.
Стандарт не распространяется на электрические контактные соединения электротехнических устройств специального назначения.
Термины, применяемые в стандарте, соответствуют ГОСТ 14312-79, ГОСТ 18311-80.
1. КЛАССИФИКАЦИЯ
1.1. В зависимости от области применения электрические контактные соединения (далее - контактные соединения) подразделяются на классы в соответствии с табл. 1.
Таблица 1
| Область применения контактного соединения | Класс контактного соединения |
|---|---|
| 1. Контактные соединения цепей, сечения проводников которых выбраны по допустимым длительным токовым нагрузкам (силовые электрические цепи, линии электропередачи и т.п.) | 1 |
| 2. Контактные соединения цепей, сечения проводников которых выбраны по стойкости к сквозным токам, потере и отклонению напряжения, механической прочности, защите от перегрузки. Контактные соединения в цепях заземляющих и защитных проводников из стали | 2 |
| 3. Контактные соединения цепей с электротехническими устройствами, работа которых связана с выделением большого количества тепла (нагревательные элементы, резисторы и т.п.) | 3 |
Примечание. В стандартах и технических условиях на конкретные виды электротехнических устройств должны указываться классы 2 и 3, класс 1 не указывается.
1.2. В зависимости от климатического исполнения и категории размещения электротехнических устройств по ГОСТ 15150-69 контактные соединения подразделяются на группы в соответствии с табл. 2.
1.3. По конструктивному исполнению контактные соединения подразделяются на неразборные и разборные.
1.4. В зависимости от материала соединяемых проводников и группы контактных соединений по п. 1.2 разборные контактные соединения подразделяются на:
- - не требующие применения средств стабилизации электрического сопротивления - см. пп. 2.1.6 и 2.1.8;
- требующие применения средств стабилизации электрического сопротивления - см. пп. 2.1.7 и 2.1.8.
Таблица 2
| Климатическое исполнение и категория размещения электротехнического устройства | |
|---|---|
| 1. Все климатические исполнения для категории размещения 4.1 при атмосфере типов II и I. Климатические исполнения У, УХЛ, ТС для категории размещения 3 и климатические исполнения УХЛ, ТС для категории размещения 4 при атмосфере типов II и I |
А |
| 2. Любые сочетания климатического исполнения и категории размещения, кроме указанных выше, при атмосфере типов II и I. Любые сочетания климатического исполнения и категории размещения при атмосфере типов III и IV |
Б |
2. ТЕХНИЧЕСКИЕ ТРЕБОВАНИЯ
2.1. Требования к конструкции
2.1.1. Контактные соединения должны выполняться в соответствии с требованиями настоящего стандарта, стандартов и технических условий на конкретные виды электротехнических устройств по рабочим чертежам, утвержденным в установленном порядке.
2.1.2. Выводы электротехнических устройств должны соответствовать требованиям ГОСТ 24753-81.
2.1.3. Контактные винтовые зажимы должны соответствовать требованиям ГОСТ 25034-85, наборные зажимы должны соответствовать требованиям ГОСТ 19132-86.
2.1.4. Линейная арматура должна соответствовать требованиям ГОСТ 13276-79.
2.1.5. Неразборные контактные соединения должны выполняться сваркой, пайкой или опрессовкой. Допускается применение других методов, указанных в стандартах или технических условиях на конкретные виды электротехнических устройств.
Примеры выполнения неразборных контактных соединений приведены в приложении 1.
2.1.6. Разборные контактные соединения, не требующие применения средств стабилизации электрического сопротивления, должны выполняться при помощи стальных крепежных изделий, защищенных от коррозии в соответствии с требованиями ГОСТ 9.303-84, ГОСТ 9.005-72.
2.1.7. Разборные контактные соединения, требующие применения средств стабилизации электрического сопротивления, должны выполняться с использованием как по отдельности, так и в сочетании следующих средств:
- 1) крепежных изделий из цветных металлов с коэффициентом линейного расширения от 18·10 -6 до 21·10 -6 1/°С;
2) тарельчатых пружин по ГОСТ 3057-90 или техническим условиям на конкретные виды пружин;
3) защитных металлических покрытий рабочих поверхностей, выбранных по ГОСТ 9.303-84 с учетом требований ГОСТ 9.005-72.
Допускается применение других видов защитных покрытий, указанных в стандартах или технических условиях на конкретные виды электротехнических устройств;
4) переходных деталей в виде медно-алюминиевых пластин по ГОСТ 19357-81, медно-алюминиевых наконечников по ГОСТ 9581-80 и аппаратных зажимов из плакированного алюминия по ТУ 34-13-11438-89;
5) переходных деталей в виде пластин и наконечников из алюминиевого сплава с временным сопротивлением разрыву не менее 130 МПа (далее - твердый алюминиевый сплав);
6) штифтовых наконечников по ГОСТ 23598-79 из твердого алюминиевого сплава;
7) штифтовых наконечников по ГОСТ 23598-79, медно-алюминиевых;
8) электропроводящих смазок или других электропроводящих материалов, если возможность их применения подтверждена результатами испытаний по ГОСТ 17441-84 и указана в стандартах или технических условиях на конкретные виды электротехнических устройств.
При применении средств 2)-8) контактные соединения, как правило, должны выполняться при помощи, стальных крепежных деталей, защищенных от коррозии в соответствии с требованиями ГОСТ 9.303-84, ГОСТ 9.005-72.
Примечание. Необходимость нанесения защитного металлического покрытия на рабочие поверхности медных проводников должна быть указана в стандартах или технических условиях на конкретные виды электротехнических устройств.
(Измененная редакция, Изм. № 1, 2, 3).
2.1.8. Разборные контактные соединения в зависимости от группы по п. 1.2 и материала соединяемых проводников и выводов электротехнических устройств должны выполняться в соответствии с требованиями стандарта, указанными:
- - для контактных соединений проводников с плоскими выводами, а также контактных соединений проводников между собой - в табл. 3;
- для контактных соединений проводников со штыревыми выводами - в табл. 4;
- для контактных соединений проводников с гнездовыми выводами - в табл. 5.
Таблица 3
| Группа контактного соединения | Материал проводника | Номер пункта стандарта в зависимости от материала вывода или второго проводника | |||
|---|---|---|---|---|---|
| медь и ее сплавы | твердый алюминиевый сплав | алюминий | сталь | ||
| А | Медь, алюмомедь | 2.1.6 | 2.1.6 | ||
| Твердый алюминиевый сплав | |||||
| Алюминий | 2.1.7 1) или 2), или 3), или 4), или 5), или 8) | ||||
| Б | Медь, алюмомедь | 2.1.6 | 2.1.6 | ||
| Твердый алюминиевый сплав | 2.1.7* 3) или 4), или 5) и 3) | 2.1.6 | 2.1.7 4) или 5) и 3) | ||
| Алюминий | 2.1.7 4) или 5) и 3), или 1) и 3), или 2) и 3) | 2.1.7 1) или 2), или 3), или 4), или 5) | |||
Контактные соединения в соответствии с климатическим исполнением и категорией размещения электротехнических устройств, определяемыми по ГОСТ 15150-69 и ГОСТ 15543-70, должны выдерживать воздействие климатических факторов внешней среды, указанных в ГОСТ 15150-69, ГОСТ 15543-70, ГОСТ 15963-79, ГОСТ 16350-80, ГОСТ 17412-72 или в стандартах и технических условиях на конкретные виды электротехнических устройств.
Таблица 4
| Группа контактного соединения | Материал проводника | Номер пункта стандарта в зависимости от материала штыревого вывода | ||
|---|---|---|---|---|
| медь или латунь на номинальный ток | сталь на номинальный ток до 40 А | |||
| до 630 А | выше 630 А | |||
| А | Медь, алюмомедь | 2.1.6 | ||
| Твердый алюминиевый сплав | ||||
| Алюминий | 2.1.7 1) | 2.1.7 3) или 4), или 5) | 2.1.7 2) или 3), или 4), или 5) | |
| Б | Медь, алюмомедь | 2.1.6 | ||
| Твердый алюминиевый сплав | 2.1.7 4) или 5) и 3) | 2.1.7* 4) или 5) и 3) | 2.1.7 4) или 5) и 3) | |
| Алюминий | 2.1.7 4) или 5) и 3) | |||
* Контактные соединения электротехнических устройств климатических исполнений У, УХЛ категорий размещения 1 и 2 допускается изготовлять по п. 2.1.6.
Примечание. Во всех случаях для штыревых выводов на номинальный ток выше 40 А должны применяться упорные гайки из меди или латуни.
Таблица 5
| Группа контактного соединения | Материал проводника | Номер пункта стандарта в зависимости от типа жилы | |
|---|---|---|---|
| однопроволочная | многопроволочная | ||
| А | Медь | Непосредственное соединение | |
| Алюмомедь | - | ||
| Алюминий | Непосредственное соединение* или 2.1.7 6) или 7)** | ||
| Б | Медь | Непосредственное соединение* или 2.1.6*** | 2.1.6*** |
| Алюмомедь | - | ||
| Алюминий | 2.1.7 7) или 6) и 3) | ||
* Возможность непосредственного соединения должна быть указана в стандартах или технических условиях на конкретный вид электротехнического устройства.
** Допускается соединение алюминиевых жил, сплавленных в монолит с добавкой легирующих присадок из твердого алюминиевого сплава.
*** Контактное соединение выполняется путем оконцевания медными штифтовыми наконечниками по ГОСТ 22002.5-76, ГОСТ 22002.12-76, ГОСТ 22002.13-76, ГОСТ 23598-79 или путем облуживания жил оловянно-свинцовыми припоями по ГОСТ 21931-76.
Допускается по согласованию с потребителем применять контактные соединения, отличающиеся от указанных в табл. 3-5.
Примеры выполнения разборных контактных соединений приведены в приложении 2.
(Измененная редакция, Изм. № 1, 3).
2.1.9. Контактные соединения пластин из твердого алюминиевого сплава и алюминиевой части медно-алюминиевых пластин с алюминиевыми проводниками (выводами) должны выполняться сваркой или пайкой, а соединения наконечников из твердого алюминиевого сплава и алюминиевой части медно-алюминиевых наконечников с алюминиевыми жилами проводов и кабелей должны выполняться сваркой или опрессовкой.
2.1.10. Разборные контактные соединения однопроволочных жил проводов и кабелей с плоскими или штыревыми выводами должны выполняться:
- - жил сечением до 16 мм 2 - после оконцевания наконечниками по ГОСТ 7386-80 или непосредственно: путем формирования в кольцо или без него с предохранением в обоих случаях от выдавливания фасонными шайбами или другими способами;
- жил сечением 25 мм 2 и более - после оконцевания наконечниками по ГОСТ 7386-80, ГОСТ 7387-82, ГОСТ 9581-80 или путем формирования конца жилы в плоскую зажимную часть с отверстием под болт.
2.1.11. Разборные контактные соединения многопроволочных жил проводов и кабелей с плоскими или штыревыми выводами должны выполняться:
- - жил сечением до 10 мм 2 - после оконцевания наконечниками по ГОСТ 7386-80, ГОСТ 9688-82, ГОСТ 22002.1-82, ГОСТ 22002.2-76 - ГОСТ 22002.4-76, ГОСТ 22002.6-82, ГОСТ 22002.7-76 - ГОСТ 22002.11-76, ГОСТ 22002.14-76 или непосредственно: путем формирования в кольцо или без него с предохранением в обоих случаях от выдавливания фасонными шайбами, или другими способами;
- жил сечением 16 мм 2 и более - после оконцевания наконечниками по ГОСТ 7386-80, ГОСТ 7387-82, ГОСТ 9581-80, ГОСТ 22002.1-82, ГОСТ 22002.2-76, ГОСТ 22002.6-82, ГОСТ 22002.7-76.
(Измененная редакция, Изм. № 1, 2).
2.1.12. К каждому болту (винту) плоского вывода или к штыревому выводу рекомендуется присоединять не более двух проводников, если иное не указано в стандартах или технических условиях на конкретные виды электротехнических устройств.
2.1.13. В разборных контактных соединениях должны использоваться крепежные детали классов прочности по ГОСТ 1759.4-87 и ГОСТ 1759.5-87, указанных в табл. 6. Винты в контактных соединениях рекомендуется применять с цилиндрической или шестигранной головкой.
Таблица 6
2.1.14. Требования к подготовке рабочих поверхностей контактных деталей приведены в приложении 3.
2.2. Требования к электрическим параметрам
2.2.1. Отношение начального электрического сопротивления контактных соединений (кроме контактных соединений со штыревыми выводами) к электрическому сопротивлению участка соединяемых проводников, длина которого равна длине контактного соединения, не должно превышать:
- - для класса 1 - 1, если иное не указано в стандартах или технических условиях на конкретные виды электротехнических устройств;
- для класса 2 - 2;
- для класса 3 - 6.
В контактных соединениях проводников с различным электрическим сопротивлением сравнение производится с контакт-деталью с б?льшим электрическим сопротивлением.
2.2.2. Начальное электрическое сопротивление контактных соединений класса 1 проводников со штыревыми выводами не должно превышать значений, указанных в табл. 7.
Таблица 7
Требования к контактным соединениям классов 2 и 3, при необходимости, указываются в стандартах или технических условиях на конкретные виды электротехнических устройств.
2.2.3. Электрическое сопротивление контактных соединений (кроме сварных и паяных), прошедших испытание на соответствие требованиям стандартов и другой технической документации по методике, указанной в ГОСТ 17441-84, не должно превышать начальное значение более чем в 1,5 раза. Электрическое сопротивление сварных и паяных контактных соединений должно оставаться неизменным. Необходимость обязательного применения моментных индикаторных ключей должна быть указана в стандартах или технических условиях на конкретные виды электротехнических устройств.
2.2.4. При протекании номинального (длительно допустимого) тока наибольшая допустимая температура контактных соединений классов 1 и 2 не должна превышать значений, указанных в табл. 8. Токовые нагрузки проводников при этом принимают по "Правилам устройства электроустановок", утвержденным Госэнергонадзором 12.04.69, по стандартам или техническим условиям на конкретные виды электротехнических устройств.
Таблица 8
| Характеристика соединяемых проводников | Наибольшая допустимая температура нагрева, °С в установках | |
|---|---|---|
| до 1000 В | св. 1000 В | |
| 1. Проводники из меди, алюмомеди, алюминия и его сплавов без защитных покрытий рабочих поверхностей | 95 | По ГОСТ 8024-90 |
| 2. Проводники из меди, алюмомеди, алюминия и его сплавов с защитными покрытиями рабочих поверхностей неблагородными металлами | 110* | |
| 3. Проводники из меди и ее сплавов без изоляции или с изоляцией классов В, F и Н по ГОСТ 8865-87 с защитным покрытием рабочих поверхностей серебром | 135 | |
* Допускается для проводников из меди без изоляции или с изоляцией классов В, F и Н по ГОСТ 8865-87 повышать температуру до 135 °С, если возможность этого подтверждена результатами испытаний по ГОСТ 17441-84 и указана в стандартах или технических условиях на конкретные виды электротехнических устройств.
Температура контактных соединений класса 3 устанавливается в стандартах или технических условиях на конкретные виды электротехнических устройств в зависимости от применяемых материалов, покрытий, класса изоляции присоединяемых проводников и условий эксплуатации.
(Измененная редакция, Изм. № 1, 2, 3).
2.2.5. (Исключен, Изм. № 1).
2.2.6. После режима сквозного тока контактные соединения не должны иметь механических повреждений, препятствующих их дальнейшей эксплуатации. Температура контактных соединений в режиме сквозного тока не должна быть более 200 °С у соединений проводников из алюмомеди, алюминия и его сплавов, а также у соединений этих проводников с медными, 300 °С - у соединений медных проводников и 400 °С - у соединений стальных проводников.
2.2.7. Значение допустимого сквозного тока контактных соединений должно быть не менее допустимых сквозных токов конкретных видов электротехнических устройств, указанных в стандартах или технических условиях на эти устройства.
При отсутствии этих данных значение плотности односекундного тока должно соответствовать 165 А/мм 2 - для медных проводников, 105 А/мм 2 - для алюминиевых и алюмомедных, 90 А/мм 2 - для проводников из алюминиевого сплава и 20 А/мм 2 - для стальных проводников.
(Измененная редакция, Изм. №.1).
2.3. Требования по устойчивости к механическим факторам
2.3.1. Контактные соединения должны выдерживать воздействие механических факторов внешней среды по группе условий эксплуатации согласно ГОСТ 17516-72, которая должна указываться в стандартах или технических условиях на конкретные виды электротехнических устройств.
При отсутствии таких указаний контактные соединения, подверженные вибрации, должны выдерживать вибрацию в течение 1 ч с постоянной частотой от 40 до 50 Гц и амплитудой 1 мм.
2.3.2. Контактные соединения должны выдерживать воздействия статических осевых нагрузок на растяжение, вызывающие напряжения, не менее:
- - 90 % временного сопротивления разрыву целого проводника - для контактных соединений проводов линии электропередачи, работающих на растяжение;
- 30 % временного сопротивления разрыву целого проводника - для неразборных контактных соединений, не работающих на растяжение, а также для соединений проводников с гнездовыми выводами, соединений неоконцованных проводов и кабелей с плоскими выводами, укомплектованными фасонными шайбами.
Для проводников сечением до 1,5 мм 2 не допускается применять винтовой зажим, конец винта которого проворачивается по жиле.
2.3.1.-2.3.3. (Измененная редакция, Изм. № 1).
2.3.4. Разборные контактные соединения проводников с выводами, одноболтовые контактные соединения, которые могут подвергаться воздействию сквозных токов короткого замыкания, а также разборные контактные соединения, подверженные вибрации или находящиеся во взрывоопасных помещениях, должны быть предохранены от самоотвинчивания контргайками, пружинными шайбами, тарельчатыми пружинами или другими способами.
(Измененная редакция, Изм. № 2).
2.4. Требования к надежности
2.4.1. Для оценки надежности контактных соединений устанавливается гамма-процентный ресурс, если иное не установлено в стандартах или технических условиях на электротехнические устройства конкретных видов.
Нижнее значение гамма-процентного ресурса должно обеспечивать работу электротехнических устройств в соответствии с требованиями к надежности, установленными в стандартах или технических условиях на эти электротехнические устройства.
(Измененная редакция, Изм. № 1).
2.5. Требования безопасности
2.5.1. Контактные соединения в части требований безопасности должны соответствовать ГОСТ 12.2.007.0-75 и обеспечивать условия эксплуатации, установленные "Правилами технической эксплуатации установок потребителей" и "Правилами техники безопасности при эксплуатации электроустановок потребителей", утвержденными Госэнергонадзором 12 апреля 1969 г.
2.5.2. Контактные соединения в части требований пожарной безопасности должны соответствовать ГОСТ 12.1.004-91, что обеспечивается выполнением требований ГОСТ 10434-82.
(Введен дополнительно, Изм. № 3).
ПРИЛОЖЕНИЕ 1
Справочное
НЕРАЗБОРНЫЕ КОНТАКТНЫЕ СОЕДИНЕНИЯ
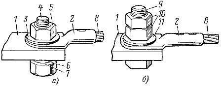
а - сваркой или пайкой; б - со штыревым выводом сваркой; в - сваркой через переходную медно-алюминиевую пластину; г - соединение жил проводов (кабелей) через соединительную гильзу опрессовкой; д - соединение жилы провода (кабеля) с кабельным наконечником опрессовкой (сваркой, пайкой); е - соединение жил проводов в овальных соединителях
1 - плоский вывод (шина); 2 - шина; 3 - штыревой вывод; 4 - медно-алюминиевая пластина; 5 - провод (кабель); 6 - соединительная гильза; 7 - кабельный наконечник; 8 - овальный соединитель
ПРИЛОЖЕНИЕ 2
Справочное
РАЗБОРНЫЕ КОНТАКТНЫЕ СОЕДИНЕНИЯ

а - с контргайкой; б - с пружинной шайбой; в - однопроволочная (многопроволочная) жила провода (кабеля) сеч. до 10 мм 2 с изгибанием в кольцо; г - однопроволочная (многопроволочная) жила провода (кабеля) сеч. до 10 мм 2 без изгибания в кольцо.
1 - плоский вывод (шина); 2 - шина (кабельный наконечник); 3, 4, 5 - шайба, болт и гайка стальные; 6 - пружинная шайба; 7 - винт; 8 - фасонная шайба (шайба-звездочка); 9 - провод (кабель); 10 - фасонная шайба (арочная шайба)

а - крепежом из цветного металла с контргайкой; б - крепежом из цветного металла с пружинной шайбой; в - стальным крепежом с тарельчатой пружиной; г - стальным крепежом с защитными металлическими покрытиями рабочих поверхностей с контргайкой (пружинной шайбой); д - стальным крепежом через переходную медно-алюминиевую пластину с контргайкой (пружинной шайбой); е - стальным крепежом через переходную пластину из твердого алюминиевого сплава с контргайкой (пружинной шайбой).
1 - плоский вывод (шина); 2 - шина (кабельный наконечник); 3 - 5 - шайба, болт, гайка из цветного металла; 6 - пружинная шайба; 7 - стальная гайка; 8 - стальной болт; 9 - тарельчатая пружина; 10 - стальная шайба (шайба увеличенная); 11 - стальная шайба; 12 - плоский вывод (шина) с защитным металлическим покрытием рабочей поверхности; 13 - шина (кабельный наконечник) с защитным металлическим покрытием рабочей поверхности; 14 - медно-алюминиевая пластина; 15 - пластина из твердого алюминиевого сплава

а - проводник из меди, твердого алюминиевого сплава или алюминия с защитным металлическим покрытием рабочей поверхности; б, в, г - алюминиевый проводник; д - алюминиевый проводник через переходную медно-алюминиевую пластину; е - однопроволочная (многопроволочная) жила провода кабеля сеч. 10 мм 2 с изгибанием в кольцо.
1-штыревой вывод из меди или латуни; 2 - гайка из меди или латуни; 3 - шина (кабельный наконечник) из меди, твердого алюминиевого сплава или алюминия с защитным металлическим покрытием рабочих поверхностей; 4 - стальная гайка; 5 - штыревой медный вывод; 6 - стальная шайба; 7 - алюминиевая шина (кабельный наконечник); 8 - штыревой латунный вывод; 9 - штыревой стальной вывод; 10 - тарельчатая пружина; 11 - медно-алюминиевая пластина; 12 - провод (кабель); 13 - пружинная шайба; 14 - фасонная шайба (шайба-звездочка)

а, б - однопроволочная (многопроволочная, сплавленная в монолит) жила; в - многопроволочная жила, оконцованная кабельным наконечником.
1 - наборный зажим; 2 - провод (кабель); 3 - гнездовой вывод; 4 - кабельный наконечник штифтовой
ТРЕБОВАНИЯ К ПОДГОТОВКЕ РАБОЧИХ ПОВЕРХНОСТЕЙ КОНТАКТ-ДЕТАЛЕЙ

1. Контакт-детали, имеющие два и более отверстий под болты в поперечном ряду, рекомендуется выполнять с продольными разрезами, как показано на чертеже.
2. Рабочие поверхности контакт-деталей разборных контактных соединений и неразборных контактных соединений с линейной арматурой непосредственно перед сборкой должны быть подготовлены:
- - медные без покрытия и алюмомедные - зачищены.
При зачистке алюмомедных проводов не должна быть повреждена медная оболочка;
- алюминиевые и из алюминиевых сплавов - зачищены и смазаны нейтральной смазкой (вазелин КВЗ по ГОСТ 15975-70, ЦИАТИМ-221 по ГОСТ 9433-80 или другими смазками с аналогичными свойствами).
Рекомендуемое время между зачисткой и смазкой не более 1 ч;
- рабочие поверхности, имеющие защитные металлические покрытия, - промыты органическим растворителем.
(Измененная редакция, Изм. № 3).
3. Рабочие поверхности медных контакт-деталей, соединяемых способом опрессовки, должны быть зачищены, если иное не указано в стандартах или технических условиях на конкретные виды электротехнических устройств.
Рабочие поверхности алюминиевых контакт-деталей должны быть зачищены и смазаны кварцевазелиновой пастой или другими смазками, пастами и компаундами с аналогичными свойствами.
4. Поверхности контакт-деталей, соединяемых сваркой или пайкой, должны быть предварительно зачищены, обезжирены или протравлены.
5. Расположение и размер отверстий под болты в контакт-деталях разборных контактных соединений рекомендуется принимать в соответствии с ГОСТ 21242-75.
По согласованию с потребителем допускается выполнение овальных отверстий.
(Введен дополнительно, Изм. № 2).
КРУТЯЩИЕ МОМЕНТЫ
Таблица 9
| Диаметр резьбы, мм | Крутящий момент, Н·м, для болтового соединения | |
|---|---|---|
| с шлицевой головкой (винты) | с шестигранной головкой | |
| М3 | 0,5+0,1 | - |
| М3,5 | 0,8±0,2 | |
| М4 | 1,2±0,2 | |
| М5 | 2,0±0,4 | 7,5±1,0 |
| М6 | 2,5±0,5 | 10,5±1,0 |
| М8 | - | 22,0±1,5 |
| M10 | 30,0±1,5 | |
| М12 | 40,0±2,0 | |
| М16 | 60,0±3,0 | |
| М20 | 90,0±4,0 | |
| М24 | 130,0±5,0 | |
| М30 | 200,0±7,0 | |
| М36 | 240,0±10,0 | |
Примечание. Для болтовых соединений проводников из меди и твердого алюминиевого сплава рекомендуется применять крутящие моменты, значения которых в 1,5 - 1,7 раза превышают установленные в таблице.
(Измененная редакция, Изм. № 3).
ИНФОРМАЦИОННЫЕ ДАННЫЕ
1. РАЗРАБОТАН И ВНЕСЕН Министерством монтажных и специальных строительных работ СССР
РАЗРАБОТЧИКИ
Н. Н. Дзекцер, канд. техн. наук (руководитель темы); В. Л. Фукс; О. В. Фесенко, канд. техн. наук
2. УТВЕРЖДЕН И ВВЕДЕН В ДЕЙСТВИЕ Постановлением Государственного комитета СССР по управлению качеством продукции и стандартам от 03.02.82 № 450
3. ВЗАМЕН ГОСТ 10434-76
4. ССЫЛОЧНЫЕ НОРМАТИВНО ТЕХНИЧЕСКИЕ ДОКУМЕНТЫ
| Обозначение НТД, на который дана ссылка | Номер пункта, перечисления, приложения |
|---|---|
| ГОСТ 9.005-72 | |
| ГОСТ 9.303-84 | 2.1.6; 2.1.7, перечисления 3, 8 |
| ГОСТ 12.1.004-91 | 2.5.2 |
| ГОСТ 12.2.007.0-75 | 2.5.1 |
| ГОСТ 1759.4-87 | 2.1.13 |
| ГОСТ 1759.5-87 | 2.1.13. |
| ГОСТ 3057-90 | 2.1.7, перечисление 2 |
| ГОСТ 7386-80 | 2.1.10; 2.l.11 |
| ГОСТ 7387-82 | 2.1.10; 2.1.11 |
| ГОСТ 8024-90 | 2.2.4 |
| ГОСТ 8865-87 | 2.2.4 |
| ГОСТ 9433-80 | Приложение 3 |
| ГОСТ 9581-80 | 2.1.7, перечисление 4; 2.1.10; 2.1.10; 2.1.11 |
| ГОСТ 9688-82 | 2.1.11 |
| ГОСТ 13276-79 | 2.1.4; 2.1.7 |
| ГОСТ 14312-79 | Вводная часть |
| ГОСТ 15150-69 | 1.2; 2.1.8 |
| ГОСТ 15543-70 | 2.1.8 |
| ГОСТ 15963-79 | 2.1.8 |
| ГОСТ 15975-70 | Приложение 3 |
| ГОСТ 16350-80 | 2.1.8 |
| ГОСТ 17412-72 | 2.1.8 |
| ГОСТ 17441-84 | 2.1.7, перечисление 8; 2.2.3; 2.2.4 |
| ГОСТ 17516-72 | 2.3.1 |
| ГОСТ 18311-80 | Вводная часть |
| ГОСТ 19132-86 | 2.1.3 |
| ГОСТ 19357-81 | 2.1.7, перечисление 4 |
| ГОСТ 21242-75 | Приложение 3 |
| ГОСТ 21931-76 | 2.1.8 |
| ГОСТ 22002.1-82 | 2.1.11 |
| ГОСТ 22002.2-76 - ГОСТ 22002.4-76 | 2.1.11 |
| ГОСТ 22002.5-76 | 2.1.8 |
| ГОСТ 22002.6-82 | 2.1.11 |
| ГОСТ 22002.7-76 - ГОСТ 22002.11-76 | 2.1.11 |
| ГОСТ 22002.12-76 | 2.1.8 |
| ГОСТ 22002.13-76 | 2.1.8 |
| ГОСТ 22002.14-76 | 2.1.11 |
| ГОСТ 23598-79 | 2.1.7, перечисление 6, 7; 2.1.8 |
| ГОСТ 24753-81 | 2.1.2 |
| ГОСТ 25034-85 | 2.1.3 |
| ГОСТ 34-13-11438-89 | 2.1.7, перечисление 4 |
5. Срок действия продлен до 01.01.96 Постановлением Государственного комитета СССР по управлению качеством продукции и стандартам от 25.05.90 № 1309
6. ПЕРЕИЗДАНИЕ (октябрь 1993 г.) с Изменениями № 1, 2, 3, утвержденными в апреле 1985 г., июне 1987 г., мае 1990 г. (ИУС 7-85, 10-87, 8-90)
С помощью контактных соединений (КС) элементы электрической цепи соединяются между собой и источниками и потребителями электроэнергии.
Электрическим контактом называется соприкосновение элементов, обеспечивающее непрерывность электрической цепи. Иначе говоря, это конструктивный узел, образующий контакт, связь.
Между проводниками электрический контакт осуществляется при нажатии одного токоведущего элемента на другой с помощью болтов, винтов, сжимов, пружин, заклепок, совместной деформации (опрессовки, скрутки), а также сваркой, пайкой или адгезионным сцеплением – склеиванием.
Контактные соединения подразделяют на неразборные, разборные и разъемные. Неразборные контактные соединения – такие соединения, которые не могут быть
разобраны без разрушения хотя бы одной из соединяемых деталей или соединяемого материала (сварные, паяные, клепаные, спрессованные и клеевые соединения).
Разборные контактные соединения – могут быть разобраны без разрушения соединяемых деталей (болтовые, винтовые и клиновые соединения).
Разъемные контактные соединения – устройства, состоящие из вилки и розетки. Соединения по роду связи токоведущих частей можно разделить на
цельнометаллические с физическим сварным контактом и сжимные с механическим (сжимным) контактом. Сжимные соединения могут быть простыми и сложными. Первые образуются между двумя сплошными по структуре проводниками, вторые – между многопроволочным проводом и наконечником (гильзой и т. п.) или между двумя многопроволочными проводами.
По назначению контактные соединения, работающие в открытых и закрытых распределительных устройствах, разделяют на соединения, подсоединения и ответвления.
Для длительного пропускания токов нормального режима и кратковременных токов аварийных режимов служат контактные соединения токоведущих частей электроустановок, параметры и характеристики которые должны соответствовать стандартам и техническим условиям.
Сопротивление контактного соединения после его изготовления не должно быть больше сопротивления эквивалентного участка целого проводника. Если контактное соединение образовано проводниками из разных материалов, его сопротивление должно сравниваться с сопротивлением эквивалентного участка проводника, имеющего меньшую проводимость.
В процессе эксплуатации сопротивление контактного соединения не должно быть выше 1,8 значения сопротивления целой жилы.
Виды контактных соединений
Существуют различные технологические способы выполнения контактных соединений токоведущих частей электроустановок: электросварка контактным разогревом и угольным электродом, газоэлектрическая, газовая, термитная, контактная стыковая и холодная сварка давлением, пайка, опрессовка, скрутка, стягивание болтами (винтами) и т. д.
Электросварку контактным разогревом применяют для оконцевания, соединения и
ответвления алюминиевых проводов сечением до 1000 мм2 , а также для соединения алюминиевых жил с медными; сварку контактным разогревом с использованием присадочных материалов – для соединения и оконцевания алюминиевых многопроволочных
жил проводов и кабелей сечением до 2000 мм2 , электросварку угольным электродом – для соединения алюминиевых шин различных сечений и конфигураций; газоэлектрическую сварку – в основном для соединения алюминиевых и медных жил. Достоинство газоэлектрической сварки состоит в том, что ее выполняют без флюсов, недостаток – относительно громоздкое оборудование плюс использование дорогого газа. По этой причине газоэлектрическую сварку применяют преимущественно для контактного соединения шин из алюминиевых сплавов и медных шин.
Для соединения медных и алюминиевых проводов различных сечений и конфигураций применяется газовая сварка (при этом необходимо громоздкое оборудование).
Термитной сваркой соединяют стальные, медные и алюминиевые провода и шины всех сечений. Наиболее целесообразно ее применение для соединения неизолированных проводов линий электропередач в полевых условиях. Для выполнения термитной сварки необходимо несложное оборудование, технологически она простая, но отличается повышенной пожароопасностью. Еще одно требование – создание специальных условий для хранения термитных патронов и спичек. Термитно-тигельную сварку используют при соединении стальных полос контуров заземления и грозозащитных тросов.
Стыковая контактная сварка применяется при соединении алюминиевых шин с медными.
Холодная сварка давлением применяется при соединении алюминиевых и медных шин
средних сечений и однопроволочных проводов сечением до 10 мм 2 . Для ее выполнения не требуется дополнительных материалов и контактной арматуры.
Соединения алюминиевых и медных проводов любого сечения выполняют пайкой; этот способ не требует сложного оборудования, но трудоемок.
Опрессовка используется для выполнения контактных соединений алюминиевых, сталеалюминиевых и медных изолированных и неизолированных проводов сечением до
1000 мм2 как в кабельных, так и на воздушных линиях. При оконцевании и соединении проводников особо тщательно необходимо подбирать наконечники, гильзы, а также пуансоны и матрицы.
Скручивание проводов и их соединение с помощью соединителей используют на линиях связи.
Использование способа контактного соединения зависит от материалов соединяемых проводников, сечения, формы и напряжения электроустановки, условий монтажа.
Воздушные линии (провода) до 1 кВ в пролетах соединяют скручиванием в овальных трубках, однопроволочные провода допускается соединять скручиванием с последующей
пайкой или сваркой внахлестку (сварка встык однопроволочных проводов не допускается). В петлях провода анкерных опор соединяют анкерными и ответвительными клиновыми
зажимами, скручиванием в овальных трубках, плашечными или аппаратными прессуемыми зажимами и сваркой.
Подготовку проводников к контактному соединению проводят в зависимости от способа выполнения соединения. Так, при соединении или оконцевании многопроволочных жил пайкой концы разделывают ступенчато или со скосом под углом 55°, чтобы образовался контакт между трубчатой частью наконечника (гильзы) и проволочками каждого повива. При оконцевании или соединении секторных или сегментных жил специальным инструментом или с помощью пассатижей их скругляют, чтобы жила могла легко войти в полость трубчатой части наконечника или гильзу. Подготовка контактных концов плоских проводников под сварку включает рихтовку и обработку кромок.
Для того чтобы обеспечить металлический контакт между соединяемыми проводниками, их контактные поверхности предварительно очищают от всякого рода пленок, применяя при этом смывание, химическое растворение пленок и механическую очистку; часто эти способы используют совместно. Эффективна механическая очистка в сочетании со смыванием или растворением. Способы очистки поверхностей выбирают в зависимости от материалов контактных элементов, наличия на них защитных металлических покрытий, вида пленок и способа выполнения контактного соединения.
Самый простой способ очистки поверхностей – механический, с помощью стальных щеток и щеток из кардоленты. Контактные поверхности алюминиевых проводников очищают особенно тщательно, нанеся предварительно слой технического вазелина или других защитных смазок для исключения повторного окисления поверхностей соединяемых элементов. Под слоем смазки с помощью специальных щеток внутренние чистят контактные поверхности алюминиевых овальных или трубчатых соединителей. На специализированных заготовительных участках для очистки контактных поверхностей применяют вращающиеся щетки.
Покрытые масляными пленками поверхности предварительно обезжиривают растворителями, а затем очищают механическим способом до металлического блеска.
С целью предотвращения повторного загрязнения соединяемые поверхности защищают. Защиту выбирают в зависимости от способа выполнения контактного соединения, материала контактных элементов и условий эксплуатации соединений. Так, при контактной сварке или пайке поверхности соединяемых элементов защищают от окисления флюсами, а если применяют соединение болтами, опрессовкой или скруткой, то контактными смазками.
Защитные контактные смазки (пасты) должны иметь высокую адгезию, обладать относительно высокой степенью каплепадения, быть химически нейтральными, стабильными во времени и эластичными. В качестве защитных контактных смазок и паст используются конденсаторный вазелин, кварцевазелиновая паста и др. Смазки наносят тонким слоем.
Правильное и качественное выполнение операций по соединению, ответвлению и оконцеванию жил проводов и кабелей определяет надежность эксплуатации внутренней и наружной электропроводок. Эти элементы проводок должны обладать необходимой механической прочностью и малым электрическим сопротивлением, сохраняя эти свойства на все время эксплуатации.
Для устройства электропроводки используются провода и кабели с алюминиевыми и медными жилами. По экономическим соображениям электропроводка, как правило, выполняется проводами и кабелями с алюминиевыми жилами. Однако алюминий имеет свойства, которые мало способствуют надежности соединения. Одно из них – повышенная (по сравнению с медью) текучесть и окисляемость с образованием токонепроводящих пленок. Окись алюминия создает большое переходное сопротивление, приводящее к ухудшению электрического контакта и чрезмерному его нагреванию. Окисная пленка создает трудности при пайке и сварке проводов, так как она имеет температуру плавления 2050 °C, температура же плавления самого алюминия составляет только 660 °C.
Пленку с контактных поверхностей необходимо удалять и принимать меры против вторичного ее возникновения. Для этого применяют кварцевазелиновую или цинковазелиновую пасты, а также смазку ЗЭС.
Медные проводники также покрываются окисной пленкой, но она незначительно влияет на качество контактного соединения и легко удаляется.
К нарушению контакта приводит также большая разница в коэффициенте линейного теплового расширения алюминия по сравнению с другими металлами. Поэтому алюминиевые провода нельзя спрессовывать в медных наконечниках или присоединять к медным контактам аппаратов. Даже при нормальной эксплуатации через некоторое время провода в местах болтовых и винтовых соединений алюминиевых жил следует периодически подтягивать, так как при изменении температуры окружающей среды они могут сильно нагреваться.
При длительной эксплуатации алюминий начинает «течь» из области с большим давлением в соседнюю область, находящуюся под меньшим давлением. Поэтому винтовые и болтовые контактные соединения алюминиевых жил нельзя пережимать.
В особенно неблагоприятных условиях находятся контакты алюминиевых жил с другими металлами в наружных электропроводках. Под влиянием влаги, содержащейся в окружающей среде, на контактных поверхностях появляется водяная пленка со свойствами электролита и в месте соединения образуется так называемая гальваническая пара. Алюминий здесь выступает в качестве отрицательного полюса и «теряет» частицы металла, постепенно разрушается, и разрушается контакт. Особенно неблагоприятны в этом отношении соединения алюминия с медью и латунью. Такие контактные поверхности необходимо защищать от проникновения влаги кварцевазелиновой пастой, смазкой ЗЭС или покрывать их третьим металлом – оловом или припоем типа ПОС.
В процессе эксплуатации винтовые и болтовые сжимы соединений алюминиевых и медных проводов требуют контроля и периодического подтягивания. Однако для электропроводок, например, в дачных домиках этот способ соединения проводников наиболее приемлем, так как он прост и не требует специального инструмента и аппаратуры для соединения проводов.
Конструкция зажима для соединения алюминиевых жил должна обеспечивать следующие свойства:
– постоянство давления на провода при появлении их текучести;
– устройство, предохраняющее провода от растекания из-под контактного винта;
– гальваническое покрытие деталей.
Этим требованиям отвечает зажим, специально разработанный для соединения алюминиевых жил. Пружинная шайба зажима обеспечивает постоянство давления на
присоединяемые провода, а упор предохраняет выдавливание провода из-под контактного зажима. В некоторых конструкциях пружинная шайба и упор, ограничивающий растекание, выполняются в виде одной шайбы-звездочки. Собирать зажим необходимо со всеми деталями, так как отсутствие любой из них обязательно приведет к ухудшению контакта.
Рис. 30. Зажим для присоединения алюминиевых проводов:
1 – винт;2 – пружинная шайба;3 – шайба или основание контактного зажима;4 – токоведущая жила;5 – упор, ограничивающий растекание алюминиевого проводника
Оконцевание алюминиевых жил под винтовой зажим выполняется в виде кольца, для медных жил – в виде кольца и стержня.
Последовательность присоединения алюминиевых жил сечением до 10 мм 2 :
1) с конца жилы снимают изоляцию на длине, достаточной для выполнения кольца. Нож направляют под углом 10–15° к поверхности провода, чтобы, срезая изоляцию, он скользил по поверхности жилы. Нельзя держать нож перпендикулярно проводу, так как в этом случае
можно надрезать и надломить жилу. Для снятия изоляции с проводов сечением до 4 мм 2 применяют специальные клещи КСИ;
2) жилу зачищают наждачной или стеклянной бумагой до металлического блеска и смазывают тонким слоем кварцевазелиновой пасты;
3) подготовленный конец жилы загибают круглогубцами в кольцо. Загибать провода следует по часовой стрелке, т. е. по направлению вращения винта. Внутренний диаметр кольца должен быть несколько больше, чем диаметр контактного винта;
4) провод зажимают винтом на пластине контактного вывода, ввертывая его в нарезанное отверстие или затягивая гайкой.
Гибкие медные жилы сечением 1–2,5 мм2 оконцовывают в виде кольца с последующей полудкой в следующем порядке. С провода снимают примерно 25–30 мм изоляции, зачищают жилы наждачной бумагой до металлического блеска, скручивают проволочки в стержень, загибают в кольцо, покрывают кольцо канифолью или ее раствором в спирте, затем окунают на 1?2 с в расплавленный припой ПОС-40. После остывания провод изолируют до кольца.
Многопроволочную медную токоведущую жилу сечением 1,0–2,5 мм2 в некоторых видах

соединений оконцовывают в виде стержня с полудкой припоем ПОС-40.
Контактные зажимы штепсельных розеток до 10 А и выключателей от 4 А и выше допускают присоединения медных и алюминиевых проводов сечением от 1 до 2,5 мм2 , а для
выключателей 1 А – только медных жил проводов сечением от 0,5 до 1 мм2 . Присоединение алюминиевых проводов в зажиме обязательно выполняется с
оконцеванием в виде колечка, медных – в виде колечка и стержнем. Колечко алюминиевого провода перед вводом в контакт зачищают и смазывают кварцевазелиновой или цинковазелиновой пастой. В штепсельных розетках до 10 А к одному контакту можно
присоединить не более двух медных или алюминиевых проводов сечением до 4 мм2 . Соединение алюминиевых или медных проводов электропроводки с медными проводами
осветительной арматуры выполняется с помощью специальной зажимной колодки. Провода зажимаются между пластинами, имеющими насечки и отверстия с резьбой для зажимных винтов. На винты должны быть надеты пружинящие разрезные шайбы.
Рис. 31. Оконцевание проводов.

Рис. 32. Опрессовка алюминиевых проводов гильзами ГАО:
а – односторонняя опрессовка;б – двухсторонняя опрессовка В светильниках патроны для ламп накаливания имеют контактные зажимы под кольцо, а
также втычного типа для присоединения прямых концов медных жил проводов. Присоединяя провода, необходимо помнить, что центральный контакт патрона подключается к фазному проводу, а контакт, присоединенный к гильзе цоколя, – к нулевому.
Широкое распространение получил способ соединения и оконцевания алюминиевых и медных проводов и кабелей опрессовкой, которая обеспечивает надежный электрический контакт и необходимую механическую прочность, кроме того, проста в исполнении. Опрессовку выполняют ручными клещами, механическими и гидравлическими прессами с помощью сменных матриц и пуансонов. Для соединения жил проводов и кабелей служат гильзы, для оконцевания – наконечники.
Технологический порядок опрессовки алюминиевых жил в соединительных гильзах и оконцевание кабельными наконечниками:
1) в зависимости от сечения токоведущих жил проводов и кабелей подбирают тип и размеры соединительных гильз и кабельных наконечников. Для опрессовки жил сечением
от 2,5 до 10 мм2 используют соединительные алюминиевые гильзы типа ГАО; для сечений
более 10 мм2 – соединительные гильзы типа ГА. Оконцевание жил и кабелей производят с помощью трубчатых алюминиевых наконечников типа ТА или медноалюминиевых типа ТАМ;
2) подбирают матрицы и пуансоны в соответствии с типоразмерами соединительных гильз и наконечников;
3) проверяют наличие в гильзах и наконечниках заводской смазки. При отсутствии смазки гильзы и наконечники зачищают металлическим «ершиком» и смазывают защитной
кварцевазелиновой или цинковазелиновой пастой;
4) снимают с концов жил изоляцию: при оконцевании – на длине, равной длине трубчатой части наконечника, при соединении – на длине, равной половине гильзы;
5) зачищают концы токоведущих жил наждачной бумагой или щеткой из кордоленты до металлического блеска, протирают тканью, смоченной в бензине, и сразу же покрывают кварцевазелиновой пастой;
6) надевают на подготовленные и спрессованные жилы наконечник или гильзу. При оконцевании жилу вводят в наконечник до упора, при соединении – так, чтобы торцы соединяемых жил соприкасались между собой в середине гильзы;
7) устанавливают трубчатую часть наконечника или гильзы в матрицу и опрессовывают;
8) обработав острые края гильз, соединение изолируют.
Не разрешается на алюминиевую жилу напрессовывать медный наконечник, так как соединение будет непрочным из-за большой разности коэффициента линейного теплового расширения у меди и алюминия.
Порядок опрессовки медных жил и кабелей:
с много– и однопроволочных проводов снимают изоляцию на длине 20–25 мм, укладывают соединяемые жилы параллельно, не скручивая их между собой. Затем обворачивают их двумя слоями медной или латунной фольги толщиной 0,2 мм и шириной 18–20 мм и обжимают место соединения пресс-клещами.
Опрессовку одно– и многопроволочных жил сечением 4 мм2 и более выполняют в медных трубчатых наконечниках типа Т или в соединительных медных гильзах типа ГМ. Все операции выполняют в такой же последовательности, как и для алюминиевых проводов и кабелей, за исключением наложения кварцевазелиновой и цинковазелиновой пасты.
Запрещается производить опрессовку при помощи молотка и зубила.
Пайкой и сваркой соединяют и ответвляют провода в тех случаях, когда нельзя применить все остальные – опрессовку, винтовые сжимы и сварку. Требования к пайке те же: она должна обеспечивать надежность электрического контакта и необходимую прочность.
Для получения качественной пайки необходимо, во-первых, правильно выбрать припой, во-вторых, удалить пленку окиси соединяемых контактных поверхностей. При соединении медных жил пленка окиси удаляется перед пайкой, при соединении алюминиевых жил – в процессе пайки.
Пайка создает хороший электрический контакт, но это соединение непрочное, поэтому провода перед пайкой надо скручивать.
Пайку медных жил сечением 1,0-10 мм2 производят паяльником. Для пайки применяют мягкие оловянисто-свинцовые припои марки ПОС.
При пайке медных жил окись удаляется путем зачистки поверхностей наждачной бумагой или напильником. В качестве флюса применяется канифоль или ее раствор в спирте (соотношение частей 1:1), а также паяльный жир.
Температура разогрева места пайки должна быть на 30–50 °C выше температуры плавления припоя и флюса. Низкая температура дает так называемую холодную пайку, имеющую малую механическую прочность и создающую ненадежный электрический
Для предупреждения повреждений изоляции участок жилы длиной 2–3 мм до среза изоляции не облуживается.
В процессе пайки пленка окиси с поверхности соединяемых жил удаляется механически (под слоем расплавляемого припоя) или химически (путем применения специальных флюсов). При определенной температуре они разрушают пленку окиси. В этом и состоит особенность пайки и сварки алюминиевых жил.
По окончании пайки остатки флюса должны быть тщательно удалены, так как они могут вызвать разрушение контакта.
Паять соединения алюминиевых жил в условиях влажного воздуха не рекомендуется изза возможной коррозии. От воздействия влаги места пайки предохраняют защитными покровами.
Пайка однопроволочных жил сечением 2,5-10 мм2 может быть выполнена припоем А с помощью паяльника, другими припоями (ЦО-12, ЦА-15) с помощью бензиновой паяльной лампы. Припой А устойчив против коррозии, удобен при пайке и облуживании жил. Окисная пленка алюминия разрушается механическим путем, когда палочкой припоя натирают провод, поэтому флюс при пайке не нужен.
Соединение и ответвление медных жил сечением до 6 мм2 (рис. 33) выполняется пропаянной скруткой. Скрутка с последующей пропайкой является способом соединения и ответвления однопроволочных медных и многопроволочных проводов марок ПР, ПВ, ПРВД,
ПРД сечением 1,5?6 мм2 в открытых электропроводках на роликах и изоляторах. Этот способ соединения и ответвления применяют также в электропроводках, выполняемых плоскими проводами ППВ и другими, когда ответвительные коробки не имеют вкладышей с контактными зажимами, а также в некоторых других случаях. Например, при соединении
медного провода ответвления от воздушной линии сечением 4?6 мм2 с медными проводами
ввода сечением 2,5 мм2 .
Прост по исполнению способ соединения проводов скруткой, но он требует последующей пропайки соединения, так как даже качественно выполненная скрутка имеет переходное контактное сопротивление в несколько раз выше, чем при других способах соединения – опрессовке, пайке, сварке, болтовом или винтовом соединении.

Рис. 33. Соединение и ответвление медных проводов марок ПВ, ПР, ПРД, ПРВД
При скрутке провода имеют мало контактных точек и при протекании через соединение тока контакт может перегреваться, что иногда бывает причиной пожара. По этой причине соединение скруткой без пропайки не допускается.
Технология соединения и ответвления медных проводов заключается в следующем. Для соединения 2-х кусков провода необходимо плотно скрутить проволочки токопроводящих жил, чтобы они не раскручивались, и скрестить провода. Концом левого провода делают 8- 10 оборотов вокруг правого, а концом правого делают 8-10 оборотов вокруг левого провода, но в другом направлении. Места соединения скруткой должны быть длиною не менее 10–15 диаметров соединительных жил. Соединение обжимают плоскогубцами и пропаивают припоем ПОС-30 или ПОС-40. Пропаянную скрутку изолируют на всю длину соединения с обязательным захватом незащищенной изоляции провода. Соединение между собой двух скрученных проводов выполняют вразбежку.
При пайке однопроволочных алюминиевых жил сечением 2,5-10 мм2 соединение и ответвление производят в виде двойной скрутки с желобком (рис. 34). С жил снимают изоляцию, зачищают до металлического блеска наждачной бумагой или кордовой лентой, соединяют внахлестку двойной скруткой с образованием желобка в месте касания жил.

Рис. 34. Соединение однопроволочных алюминиевых проводов пайкой двойной
скруткой с желобком
Соединение нагревают паяльной лампой или паяльником до температуры начала плавления припоя. Палочкой припоя А с усилием потирают с одной стороны. В результате трения пленка окиси сдирается и желобок начинает облуживаться и заполняться припоем. Аналогично облуживают жилы и заполняют припоем желобок с другой стороны. Одновременно облуживают внешние поверхности и места скрутки жил. После остывания место соединения изолируют.
Сварка применяется для оконцевания и соединения токоведущих жил проводов и
кабелей всех сечений и для алюминиевых жил с медными при сечении жил не более 10 мм2 . Этот способ соединения требует применения специальных флюсов, сварочных аппаратов и другого специального оборудования.
СОЕДИНЕНИЯ КОНТАКТНЫЕ ЭЛЕКТРИЧЕСКИЕ
ПРИЕМКА И МЕТОДЫ ИСПЫТАНИЙ
ГОСТ 17441-84
ГОСУДАРСТВЕННЫЙ КОМИТЕТ СССР ПО СТАНДАРТАМ
Москва
ГОСУДАРСТВЕННЫЙ СТАНДАРТ СОЮЗА ССР
|
СОЕДИНЕНИЯ КОНТАКТНЫЕ ЭЛЕКТРИЧЕСКИЕ Приемка и методы испытаний Electrical contact connections. Acceptance and methods of tests |
ГОСТ Взамен |
Постановлением Государственного комитета СССР по стандартам от 29 ноября 1984 г. № 4050 срок действия установлен
с 01.01.86
до 01.01.91
Настоящий стандарт распространяется на разборные и неразборные электрические контактные соединения (далее - соединения), изготовленные в соответствии с ГОСТ 10434-82.
1. ПРАВИЛА ПРИЕМКИ
1.1. Проверку соединений следует проводить при квалификационных, приемо-сдаточных, периодических и типовых испытаниях электротехнических устройств, при приемо-сдаточных испытаниях соединений воздушных линий электропередачи, кабелей и т.д.
1.2. Виды проверок и объем выборки должны быть установлены в программах и методиках испытаний, стандартах или технических условиях на конкретные виды электротехнических устройств.
При отсутствии таких указаний виды проверок и объем выборки должны приниматься в соответствии с настоящим стандартом.
2.2.2. Соединения подвергают контролю с целью установления их соответствия требованиям стандартов, технических условий, чертежей и технологических инструкций в части материала, размеров, комплектности и качества подготовки поверхностей.
2.2.3. Качество защитного металлического покрытия проверяют визуально.
Соединения считают выдержавшими испытания, если щуп толщиной 0,03 мм не входит в паз сопряжения токоведущих деталей далее зоны, ограниченной периметром шайбы или гайки. При наличии шайб разного диаметра зону определяют диаметром меньшей шайбы. Для сжимных соединений суммарная длина участков нахождения щупа толщиной 0,03 мм в стык между сопрягаемыми плоскостями проводников не должна превышать 25 % периметра нахлеста.
(Измененная редакция, и зм. №1).
2.2.5. У неразборных соединений, выполненных опрессовкой, контролируют геометрические размеры опрессованной части.
2.3.2. Методы испытаний соединений - по ГОСТ 20.57.406-81 или ГОСТ 16962.1-89.
(Измененная редакция, и зм. №1).
(Добавлено, и зм. №1).
ПРИЛОЖЕНИЕ 1
МЕТОДИКА ИСПЫТАНИЯ КОНТАКТ-ДЕТАЛЕЙ ДЛЯ ПРОГНОЗИРОВАНИЯ НАРАБОТКИ НА ОТКАЗ СОЕДИНЕНИЯ
1. Аппаратура и материалы
1.1. Измерения производят на установке, смонтированной на базе прибора ПМТ-3 или ПМТ-5, в котором алмазная пирамидка заменена золотым электродом в виде иглы (чертеж). Допускается применение позолоченной иглы с толщиной покрытия не менее 3 мкм, например, золоченых контактов разъемов типа 2 PMAI . В держателе 1 крепят винтом 2 золотую иглу 3 с радиусом закругления вершины 0,5 мм. Образец 4 устанавливают в оправке 5, закрепленной на столике 6 прибора ПМТ и изолированной от него прокладкой 7. Оправка снабжена нагревателем 8. Температуру образца измеряют термопарой с помощью прибора, имеющего класс точности не менее 1,5. Нормальную нагрузку задают гирями и прикладывают посредством нагружающего устройства прибора ПМТ. Допускается применение другого нагружающего устройства, обеспечивающего строго вертикальное перемещение иглы 3 и погрешность в величине приложенной нормальной нагрузки не более 0,005 Н. Установка должна быть виброизолирована.

1.2. Испытываемый образец изготавливают из материала контакт-детали: по той же технологии, что и реальную деталь. Рабочая поверхность образца должна иметь шероховатость Ra £ 16 мкм по ГОСТ 2789-73.
1.3. Для промывки образцов перед испытаниями используют бензин по ГОСТ 443-76 и ацетон по ГОСТ 2603-79.
2. Проведение испытаний
2.1. Образец и золотую иглу промывают жидкостями, указанными в п. , и протирают чистой хлопчатобумажной тканью.
2.2. Устанавливают образец в оправке на столике прибора ПМГ.
2.3. На золотую иглу прикладывают нагрузку 0,05 Н.
2.4. Нагревают контакт до температуры, соответствующей допустимому значению по ГОСТ 10434-82.
2.5. Периодически измеряют электрическое сопротивление контакта золотая игла-образец (см. п. ).
2.6. Измеряют время, за которое контактное сопротивление возрастает до значения, допустимого ГОСТ 10434-82 . Указанное время является временем безотказной работы одноточечного контакта.
ПРИЛОЖЕНИЕ 2
МЕТОДИКА ИСПЫТАНИЙ КОНТАКТНЫХ СОЕДИНЕНИЙ ДЛЯ ПРОГНОЗИРОВАНИЯ СРЕДНЕГО СРОКА СЛУЖБЫ
1. Испытания проводят на выборке контактных соединений каждого типа в режиме циклического нагревания в соответствии с п. .
2. Через каждые 100 циклов устанавливают перерывы, в процессе которых осуществляют дополнительный нагрев контактных соединений номинальным током до установившейся температуры в соответствии с п. , которую измеряют и регистрируют.
3. Испытания продолжают до достижения контактными соединениями допустимой температуры по ГОСТ 10434-82. По полученным экспериментальным данным после окончания ускоренных испытаний строят зависимости среднего значения температуры от числа циклов. Затем осуществляют переход от результатов ускоренных испытаний к ожидаемым результатам в условиях эксплуатации. Для этого масштабируют число циклов во времени (рекомендуемый масштаб: 1 цикл эквивалентен 10-15 ч нагрева контактных соединений номинальным током).
4. По зависимости температуры от времени, полученной для данного типа контактного соединения, определяют средний срок его службы, т.е. находят точку «а» по допустимой температуре нагрева, как показано на чертеже.

(Добавлено, и зм. №1).
Концерн «Электромонтаж»
Инструкция по монтажу контактных соединений шин
между собой и с выводами электротехнических устройств
УДК 621.315.68 (083.96)
Взамен ВСН 164-82
Настоящая инструкция разработана в развитие основных положений ГОСТ 10434-82, ГОСТ 17441-84, действующих Правил устройства электроустановок (ПУЭ) и строительных норм и правил (СНиП).
Инструкция распространяется на разборные и неразборные контактные соединения1 шин толщиной до 152 мм, гибких шин и профилей3 (швеллерного, корытного, «двойного Т» и др.) из алюминия, твердого алюминиевого сплава АД31Т4, меди и стали, а также на соединения шин с выводами электротехнических устройств.
_________________
- Пояснение терминов, встречающихся в инструкции, приведено в приложении 1
- Технические требования к контактным соединениям распространяются также на шины толщиной более 15 мм
- В дальнейшем именуется шина
- В дальнейшем именуется алюминиевый сплав
- В дальнейшем именуется вывод
Инструкция предназначена для проектных, монтажных и эксплуатационных организаций.
1. ОБЩИЕ ТРЕБОВАНИЯ
1.1. Соединение между собой шин из однородных металлов, ответвления от этих шин и соединения алюминиевых шин и шин из алюминиевого сплава с выводами из алюминия и из алюминиевых сплавов выполняются разборными или неразборными. Соединения шин из разнородных материалов и в тех случаях, когда по условиям эксплуатации необходима периодическая разборка соединений, должны выполняться, как правило, разборными.
1.2. Контактные соединения в зависимости от технических требований, предъявляемых к ним ГОСТ 10434-82*, подразделяются на классы 1, 2 и 3.
Класс контактных соединений в зависимости от области их применения приведен в табл. 1.1.
Таблица 1.1.
| Область применения | Рекомендуемый класс контактного соединения |
| 1. Контактные соединения цепей, сечения проводников которых выбраны по допустимым длительным токовым нагрузкам (силовые электрические цепи, линии электропередачи и т.п.) | 1 |
| 2. Контактные соединения цепей, сечения проводников которых выбраны по стойкости к сквозным токам, потере и отклонению напряжения, механической прочности, защите от перегрузки. Контактные соединения в цепях заземляющих и защитных проводников из стали | 2 |
| 3. Контактные соединения цепей с электротехническими устройствами, работа которых связана с выделением большого количества тепла (нагревательные элементы, резисторы) | 3 |
Линейные контактные соединения силовых цепей должны выполняться класса 1.
1.3. В зависимости от климатического исполнения и категории размещения электротехнических устройств по ГОСТ 15150-69* контактные соединения в соответствии с ГОСТ 10434-82* подразделяются на группы А и Б.
К группе А относятся контактные соединения электротехнических устройств всех исполнений, размещенных в помещениях с кондиционированным или частично кондиционированным воздухом (категория размещения 4.1), и электротехнических устройств исполнений У, ХЛ и ТС, размещенных в закрытых помещениях (металлических с теплоизоляцией, каменных, бетонных, деревянных) с естественной вентиляцией без искусственно регулируемых климатических условий (категория размещения 3), и в помещениях с искусственно регулируемыми климатическими условиями (категория размещения 4) при атмосфере типов I и II по ГОСТ 15150-69*.
К группе Б относятся контактные соединения электротехнических устройств других исполнений и категорий размещения при атмосфере типов I и II и электротехнических устройств всех исполнений и категорий размещения при атмосфере типов III и IV.
1.4. Контактные соединения должны выполнятся в соответствии с требованиями ГОСТ 10434-82*, ГОСТ 17441-84, стандартов, технических условий на конкретные виды электротехнических устройств, СНиП 3.05.06-85, настоящей инструкции по рабочим чертежам, утвержденным в установленном порядке.
1.5. Требования к неразборным соединениям
1.5.1. Поверхность швов сварных соединений должна быть равномерночешуйчатой без наплывов. Швы не должны иметь трещин, прожогов, непроваров длиной более 10% длины шва (но не более 30 мм), незаплавленных кратеров и подрезов глубиной 0,1 толщины шины (но не более 3 мм). Сварные соединения компенсаторов не должны иметь подрезов и непроваров на лентах основного пакета.
1.5.2. Соединения, выполненные опрессовкой, не должны иметь трещин хвостовика наконечника, гильзы, зажимов в месте опрессовки; лунки должны быть расположены симметрично и соосно, геометрические размеры опрессованной части соединения должны соответствовать требованиям стандартов, ТУ, технологических документов.
1.5.3. Сварные и опрессованные соединения, не работающие на растяжение, должны выдерживать напряжения, возникающие от воздействия статических осевых нагрузок, не менее 30% временного сопротивления разрыву целой гибкой шины; работающие на растяжение - не менее 90% временного сопротивления разрыву целой гибкой шины.
1.5.4. Отношение начального (после сварки) сопротивления контактных соединений к сопротивлению контрольного участка шины длиной, равной длине контактного соединения, должно быть: для класса 1 - не более 1 (если иное не указано в стандартах и ТУ на конкретные виды электротехнических устройств); для класса 2 - не более 2; для класса 3 - не более 6.
В контактных соединениях шин различной проводимости сравнение следует производить с шиной меньшей проводимости.
1.5.5. Электрическое сопротивление сварных соединений, прошедших испытания, должно оставаться неизменным; для соединений, выполненных опрессовкой, электрическое сопротивление после испытаний не должно превышать начальное значение более, чем в 1,5 раза.
1.5.6. При протекании номинального тока температура нагрева неразборных контактных соединений (классов 1 и 2) не должна превышать значений, указанных в табл. 1.2. Температура нагрева контактных соединений класса 3 устанавливается стандартами и ТУ на конкретные виды электротехнических устройств.
1.5.7. Температура неразборных контактных соединений при испытании на стойкость при сквозных токах должна быть не более 200°С у соединений шин из алюминия и его сплавов, а также у соединений этих шин с медными, и 300°С у соединений медных шин. После испытаний на стойкость при сквозных токах контактные неразборные соединения не должны иметь механических повреждений, препятствующих их дальнейшей эксплуатации.
1.5.8. Контактные соединения в соответствии с их исполнением и категорией размещения согласно ГОСТ 15150-69* должны выдерживать воздействие климатических факторов внешней среды, указанных в этом стандарте, а также ГОСТ 15543.1-89 Е, ГОСТ 16350-80, ГОСТ 17412-72* или в стандартах и ТУ на конкретные виды электротехнических устройств.
Таблица 1.2
Температура нагрева контактных соединений
1.6. Требования к разборным соединениям
1.6.1. Разборные контактные соединения, работающие на растяжение, должны выдерживать напряжения, возникающие от воздействия статических осевых нагрузок, не менее 90% временного сопротивления разрыву целой гибкой шины.
1.6.2. Отношение начального (после сборки) сопротивления разборных контактных соединений (кроме соединений со штыревыми выводами) к сопротивлению контрольного участка шины длиной, равной длине контактного соединения, должно соответствовать требованиям п. 1.5.4.
1.6.3. Начальное сопротивление контактных соединений класса 1 со штыревыми выводами должно быть не выше значений, указанных в табл. 1.3. Сопротивление контактных соединений классов 2 и 3 указывают в стандартах и ТУ на конкретные виды электротехнических устройств.
1.6.4. Электрическое сопротивление контактных разборных соединений, прошедших испытания не должно превышать начальное сопротивление более, чем в 1,5 раза.
Таблица 1.3.
Начальное сопротивление контактных соединений шин со штыревыми выводами
1.6.5. При протекании номинального тока температура нагрева разборных контактных соединений классов 1 и 2 не должна превышать значений, указанных в табл. 1.2. Температуру нагрева контактных соединений класса 3 устанавливают в стандартах и ТУ на конкретные виды электротехнических устройств.
1.6.6. Температура разборных контактных соединений и механическая прочность при испытании на стойкость при сквозных токах должна соответствовать требованиям п. 1.5.7.
1.6.7. В разборных контактных соединениях следует применять крепежные детали прочностью не ниже указанной в табл. 1.4.
Таблица 1.4.
Класс и группа прочности крепежных деталей
Крепежные детали должны иметь защитное металлическое покрытие по ГОСТ 9303-84. Для контактных соединений группы А допускается применение вороненых стальных болтов, гаек, шайб.
1.6.8. Разборные контактные соединения шин с выводами, а также разборные линейные контактные соединения, подверженные воздействию сквозных токов короткого замыкания, вибрации, а также находящиеся во взрывоопасных и пожароопасных помещениях, должны быть предохранены от самоотвинчивания контргайками, пружинными шайбами, тарельчатыми пружинами или другими способами. Пружинные шайбы следует использовать в соединениях с болтами до М 8 включительно.
1.6.9. Разборные контактные соединения должны выдерживать воздействие климатических факторов внешней среды в соответствии с п. 1.5.8.
2. НЕРАЗБОРНЫЕ КОНТАКТНЫЕ СОЕДИНЕНИЯ
Конструктивные элементы и размеры сварных контактных соединений шин следует выбирать в соответствии с рекомендациями ГОСТ 23792-79.
Основными типами сварных соединений ошиновок являются: стыковые, угловые, нахлесточные, тавровые и торцовые (табл. 2.1).
Определение типов сварных соединений - по ГОСТ 2601-84.
Способы сварки шин из различных материалов указаны в табл. 2.2.
При выборе способа сварки следует иметь в виду:
1) Для сварки угольным электродом не требуется специального сварочного оборудования, в то время как для сварки в среде защитного газа (аргона) необходимо приобретение специального сварочного полуавтомата, либо установка для ручной аргоно-дуговой сварки.
2) В силу своих особенностей сварка угольным электродом возможна только в нижнем положении; сварка в аргоне (и ручная, и полуавтоматическая) может выполняться во всех пространственных положениях.
3) Ручная аргоно-дуговая сварка вольфрамовым электродом эффективна при толщине шин до 6 мм. При больших толщинах производительность этого способа резко снижается, особенно при низкой температуре воздуха, что приводит к резкому увеличению энергозатрат на сварку.
Таблица 2.1.
Основные типы сварных соединений и шин
1 - шина; 2 - сварной шов; 3 - пакет гибких лент; 4 - жила провода (гибкой шины).
4) Сварка в аргоне (ручная и полуавтоматическая) обеспечивает более высокое качество сварных соединений по сравнению со сваркой угольным электродом.
5) При сварке угольным электродом основными факторами, оказывающими вредное воздействие на организм сварщика и окружающую среду, являются ультрафиолетовое излучение и выделение большого количества сварочного аэрозоля и пыли, состоящей из паров металла, его окислов и продуктов сгорания флюса. Эти выделения необходимо удалять непосредственно от места сварки и отфильтровывать перед выбросом в окружающую среду.
6) При сварке в аргоне основу вредных выделений составляет озон, который также необходимо удалять от места выполнения сварки.
Таблица 2.2.
Способы сварки шин
_______________
1 Сварка сплава АД31 угольным электродом не рекомендуется.
2.1. Сварка алюминиевых шин
Ручная аргоно-дуговая сварка вольфрамовым электродом
2.1.1. Для ручной аргоно-дуговой сварки вольфрамовым электродом предназначены стационарные установки типа УДГУ-301 и УДГ-501-1, серийно выпускаемые промышленностью.
Для этой цели допускается применять источник питания сварочной дуги, изготавливаемый Ростовским опытным заводом НПО «Монтажавтоматика», а также трансформатор сварочный комбинированный типа ТДК-315, изготавливаемый Харьковским предприятием «Проммонтажэлектроника». Источник необходимо доукомплектовать сварочной ручной горелкой, разработанной ЛенПЭИ концерна Электромонтаж (горелки промышленного изготовления требуют водяного охлаждения).
2.1.2. При отсутствии указанных установок сварочный пост следует собирать по схеме, приведенной на рис. 2.1., из оборудования, указанного в табл. 2.3.

Рис. 2.1. Схема поста для ручной аргоно-дуговой сварки на «переменном токе»
ТС - трансформатор сварочный; ОС - осциллятор; РБ - реостат балластный; Г - горелка сварочная; Р - редуктор; Б - баллон.
При выборе оборудования следует иметь в виду, что для нормальной работы установок УДГ и сварочных горелок ЭЗР требуется охлаждающая вода.
Таблица 2.3.
Оборудование для ручной аргоно-дуговой сварки алюминия
| Наименование оборудования | Тип, марка1 | ГОСТ, ТУ | Назначение |
| 1. Трансформатор сварочный | ТД-306 ТДМ-503 |
ТУ 16-517-973-77 ТУ 16-739-254-80 |
Источник сварочного тока |
| 2. Горелки газоэлектрические | ЭЗР | ТУ26-05-57-67 | Подведение сварочного тока к электроду; подача защитного газа |
| Конструкции ЛенПЭИ | ЛЭ 12550 | ||
| 3. Возбудитель-стабилизатор дуги или осциллятор сварочный | ВСД-01 | ТУ 16-739.223-80 | Возбуждение и стабилизация горения дуги |
| ОСПЗ-2М | ТУ 1-612-68 | ||
| ОСМ-2 | |||
| 4. Реостат балластный | РБ-302 | Регулирование сварочного тока, подавление постоянной составляющей в сварочной цепи | |
| 5. Редуктор балонный | АР-40 | ТУ26-05-196-74 | Понижение давления аргона до рабочего значения |
| ДКП-1-65 | ТУ26-05-463-76 | ||
| 6. Баллон | 40-150 | ГОСТ 949-73 | Транспортирование и хранение аргона |
______________________
1 Применять любой из указанных типов
2.1.3. Перечень материалов, необходимых для выполнения ручной аргоно-дуговой сварки вольфрамовым электродом, приведен в табл. 2.4.
Таблица 2.4.
Материалы для ручной аргоно-дуговой сварки алюминия
______________
1 Допускается изготовление из отходов графитированных электродов дуговых печей или блоков электролизеров
2.1.4. Подготовка шин к сварке, кроме правки и резки по размеру, должна включать:
- обработку свариваемых кромок в зависимости от толщины материала для обеспечения необходимых размеров разделки по ГОСТ 23792-79;
- просушку свариваемых кромок, если они покрыты влагой;
- зачистку свариваемых кромок после сборки стальной проволочной щеткой и обезжиривание их растворителем: бензином или ацетоном;
- подогрев в случае необходимости свариваемых кромок до 200-250°С, если сварка выполняется при температуре окружающей среды ниже 0°С.
Для просушки, а также для подогрева кромок шин и профилей могут быть использованы газовые горелки или гибкие электронагреватели (ГЭН), выпускаемые по ТУ36-1837-75.
2.1.5. Подготовка сварочной проволоки должна включать:
- обезжиривание и очистку (механическую или химическую) поверхности (см. приложение 2);
- нарезку на прутки требуемой длины.
2.1.6. При выполнении сварки необходимо соблюдать следующие технологические рекомендации:
- вольфрамовый электрод выставить из сопла горелки не более, чем на 5 мм;
- начиная сварку, дугу возбудить на графитовой пластине, разогреть вольфрамовый электрод и затем перенести дугу на кромки шин, не касаясь их электродом;
- во время выполнения сварки стараться не касаться вольфрамовым электродом металла изделия, так как это приводит к нарушению стабильности процесса сварки, загрязнению шва и быстрому расходу электрода;
- поддерживать дугу длиной не более 10 мм;
- заканчивая сварку, после обрыва дуги несколько секунд не отводить горелку от конца шва, защищая струей аргона остывающий металл;
- при сварке на открытом воздухе защищать место сварки от ветра и осадков ширмами, тентами и т.п., а также при необходимости увеличивать расход аргона настолько, чтобы обеспечить эффективную защиту расплавленного металла.
2.1.7. В начале сварки необходимо производить разогрев свариваемых кромок шин путем перемещения сварочной дуги вдоль них, затем сосредоточить дугу в начале шва, расплавить кромки до образования сварочной ванны, ввести в нее присадочный пруток и начать равномерное перемещение дуги вдоль стыка со скоростью плавления кромок. Схема сварки показана на рис. 2.2.
Режимы и ориентировочный расход материалов при сварке приведены в табл. 2.5.

Рис. 2.2. Ручная аргоно-дуговая сварка вольфрамовым электродом
а) схема сварки; б) схема движения электрода при сварке;
1 - сварной шов; 2 - горелка; 3 - электрод; 4 - присадочный пруток.
Таблица 2.5.
Режимы ручной аргоно-дуговой сварки алюминия
| Толщина шин, мм | Сварочный* ток, А | Диаметр электрода, мм | Расход на 100 мм шва | ||
| аргона, л | присадки, г | ||||
| 3 | 130-150 | 3 | 3 | 9 | 5,6 |
| 4 | 150-170 | 3 | 3 | 10 | 6 |
| 5 | 170-180 | 3 | 3 | 10 | 6,8 |
| 6 | 190-200 | 4 | 4 | 11,5 | 8,5 |
| 8 | 220-225 | 5 | 5 | 12 | 11-20 |
| 10 | 240-250 | 5 | 6 | 14 | 35 |
| 12 | 290-300 | 6 | 8 | 16 | 45 |
__________
* Переменный.
2.1.8. При сварке в вертикальном, горизонтальном и потолочном положениях для предотвращения отекания металла и лучшего формирования шва следует:
- уменьшать силу сварочного тока (на 10-20%);
- увеличивать расход аргона против значений, указанных в табл. 2.5, чтобы обеспечить эффективную защиту шва;
- сварку выполнять валиками небольшого сечения, короткой дугой;
- сварочную горелку при сварке в вертикальном и горизонтальном положениях располагать ниже сварочной ванны.
Полуавтоматическая аргоно-дуговая сварка плавящимся электродом
2.1.9. Для полуавтоматической сварки алюминия в аргоне предназначены полуавтоматы типа ПДИ-304 и ПДИ-401, выпускаемые промышленностью, а также полуавтомат ПРМ-4, выпускаемый опытным заводом института монтажной технологии (НИКИМТ)1, но поставляемый без источника сварочного тока. В качестве таковых используют сварочные выпрямители ВДУ-505, ВДУ-506, ВДГ-303 и др. Для регулирования расхода аргона при сварке применяют редуктор баллонный, см. табл. 2.3.
________________
1 Полуавтомат ПРМ-4, изготавливаемый НИКИМТ, входит в комплект изделия «Ранцевый монтажный полуавтомат ПРМ-4 с приставкой ПВ 400», поставляемого Московским опытным заводом электромонтажной техники (МОЗЭТ).
- заменить в шланге горелки стальную спираль, являющуюся направляющим каналом для стальной сварочной проволоки, трубкой из фторопласта, тефлона или полиамида, т.е. из материалов, обеспечивающих минимальное трение при пропускании алюминиевой проволоки;
- выполнить механическую обработку деталей горелки, внутри которых проходит сварочная проволока, таким образом, чтобы устранить острые кромки в местах соединения деталей и резкие изгибы тракта;
- изготовить фторопластовые втулки для ввода алюминиевой проволоки в механизм подачи и в шланг горелки, исключающие задержки подачи проволоки;
- заменить (при необходимости) подающие ролики с насечкой гладкими роликами.
2.1.11. Материалы, необходимые при полуавтоматической аргоно-дуговой сварке, приведены в табл. 2.4, однако, вместо электродов вольфрамовых необходимо использовать наконечники медно-графитовые марки КТП-ДГр9 по ТУ 16-538.39-83, применяемые в сварочных горелках в качестве элемента, передающего сварочный ток на электродную проволоку.
Подготовка шин к сварке - в соответствии с п. 2.1.4.
2.1.12. Сварочную проволоку перед применением следует химически очистить (см. приложение 2) и в зависимости от конструкции полуавтомата ровно, послойно намотать на катушку либо прямо в бухте укладывать на вертушку механизма подачи.
2.1.13. На время сварки соединяемые швы необходимо жестко закрепить прижимами либо короткими (@30 мм) сварными швами - прихватками.
2.1.14. При сварке горелку следует вести с равномерной скоростью углом вперед, чтобы струя аргона направлялась вперед, обеспечивая надежную защиту сварочной ванны от воздуха.
Если необходимо получить большую ширину шва, необходимо выполнять горелкой еще и поперечные колебания. Схема сварки показана на рис. 2.3. Основные режимы сварки приведены в табл. 2.6.
Таблица 2.6.
Режимы полуавтоматической аргоно-дуговой сварки алюминия

Рис 2.3. Схема выполнения полуавтоматической сварки в различных пространственных положениях
а) нижнее; б) вертикальное; в) потолочное
1 - сварочная горелка; 2 - сварной шов.
2.1.15 При сварке многослойных швов в случае появления на поверхности шва темного налета последний следует удалить ветошью, увлажненной бензином, или зачистить металлической щеткой. Только после этого можно накладывать последующие слои швов.
2.1.16. При сварке в вертикальном, горизонтальном и потолочном положениях для предотвращения стекания расплавленного металла необходимо:
- уменьшить величину сварочного тока (на 10-20%);
- сварку вести короткой дугой, накладывая валики небольшого сечения;
- при перегреве металла, что визуально выражается в его оплывании, делать кратковременные перерывы в работе (для охлаждения металла).
2.1.17. Сварку следует выполнять открытой дугой на постоянном токе прямой полярности (минус источника питания - на угольном электроде). Для защиты металла шва от окисления необходимо применять флюсы. Способ характеризуется большим объемом расплавленного металла, поэтому сварку следует выполнять только в нижнем положении шва с тщательной формовкой соединения, препятствующей вытеканию расплавленного металла.
После сварки остатки флюса необходимо удалить.
2.1.18. Для ручной дуговой сварки угольным электродом следует собрать сварочный пост по схеме рис. 2.4. из оборудования, указанного в табл. 2.7.
Таблица 2.7
Оборудование для ручной сварки алюминия угольным электродом
_________________
1 Использовать любой из указанных типов.
2.1.19. Материалы, необходимые при сварке, указаны в табл. 2.8.

Рис. 2.4. Схема поста для ручной сварки угольным электродом на постоянном токе
ИП - источник сварочного тока; Э - угольный электрод; Ш - свариваемые шины.
Таблица 2.8.
Материалы для ручной сварки алюминия угольным электродом
- Допускается изготовление прутков рубкой из листа или шины либо отливкой из металла шин.
- Допускается изготовление из электродов (отходов) дуговых электропечей (приложение 4).
- Допускается изготовление из отходов графитированных анодов, катодных блоков, электродов дуговых печей.
2.1.20. Подготовка шин к сварке заключается в обрезке свариваемых кромок под прямым углом. Скоса кромок при этом не делают, однако необходимо применять приспособления с формирующими подкладками из графита, препятствующими вытеканию расплавленного металла.
2.1.21. Присадочные прутки перед сваркой следует очищать и обезжиривать.
Перед сваркой на кромки шин и на присадочные прутки необходимо нанести флюс ВАМИ, разведенный водой до сметанообразной массы, либо насыпать его на кромки в виде порошка.
2.1.22. В начале сварки следует производить подогрев свариваемых кромок путем перемещения растянутой сварочной дуги вдоль них, затем сконцентрировать дугу в начале шва, расплавить кромки шин до образования сварочной ванны и начать перемещение дуги вдоль соединяемых кромок со скоростью их плавления. В задний край сварочной ванны необходимо ввести присадочный пруток, которым плавно и равномерно перемешивать сварочную ванну для удаления окислов и шлаков.
2.1.23. Заканчивая выполнение шва, следует дать металлу затвердеть, и в случае образования усадочной раковины возбудить дугу вновь и заплавить кратер.
2.1.24. По окончании сварки швы необходимо тщательно очистить от шлака, остатков флюса, застывших капель металла.
Схема выполнения сварки показана на рис. 2.5.

Рис. 2.5. Схема сварки угольным электродом
1 - шина; 2 - графитовая подкладка; 3 - графитовый брусок для формовки торца шва; 4 - присадочный пруток; 5 - угольный электрод; 6 - сварочная ванна; 7 - шов.
Таблица 2.9.
Режимы ручной сварки алюминия угольным электродом
| Толщина шин, мм | Зазор между кромками шин, мм | Сварочный ток1, А | Диаметр присадочного прутка2, мм | Расход на 100 мм шва, г | |
| присадки | флюса ВАМИ | ||||
| 3 | - | 150 | 5 | 9 | 1-2 |
| 4 | - | 200 | 5 | 10 | 2-3 |
| 5 | - | 200 | 5 | 18 | 3-5 |
| 6 | - | 250 | 8 | 25 | 4-6 |
| 8 | - | 300 | 10 | 35 | 5-8 |
| 10 | - | 350 | 12 | 46 | 7-10 |
| 12 | - | 400 | 12 | 57 | 9-12 |
| 15 | - | 450 | 15 | 80 | 11-13 |
- Ток постоянный, полярность прямая.
- Прутки, нарезанные из шин или листов, должны иметь квадратное сечение со стороной квадрата, равной диаметру круглого прутка, указанному в таблице.
Особенности технологии сварки алюминиевых токопроводов различных профилей
Прямоугольные шины
Основные виды сварных соединений прямоугольных шин представлены на рис. 2.6.
2.1.25. При сварке в монтажной зоне для формирования швов следует применять переносные сборочные приспособления, закрепляемые непосредственно на свариваемых шинах (рис. 2.7.).
2.1.26. При прокладке шин поодиночно должны, как правило, выполняться стыковые соединения, а при монтаже пакетов шин - нахлесточные, торцовые и угловые.

Рис. 2.6. Основные сварные соединения прямоугольных шин
а) соединения шин встык; б) соединения под углом; в) приварка ответвления к шине; г) приварка ответвления к шине внахлестку; д) приварка компенсатора к шинам; в) тавровое соединение шин; ж, з) сварка шин по верхним кромкам
1 - шина; 2 - сварной шов; 3 - пакет гибких лент.

Рис. 2.7. Переносные приспособления для сварки шин на монтаже
а) для сварки встык; б) для приварки ответвлений
1 - шина; 2 - зажим; 3 - графитовый брусок; 4 - основание приспособления; 5 - откидной зажим; 6 - ответвление.
2.1.27. Нахлесточные и торцовые соединения следует применять для приварки ответвлений к однополосным и многополосным сборным шинам. При этом ответвления могут быть также многополосными и иметь как меньшую, так и равную толщину. Режимы сварки должны устанавливаться для шины меньшей толщины.
При сварке необходимо использовать специальные приспособления, исключающие вытекание алюминия и обеспечивающие возможность получения сварного шва необходимого размера (рис. 2.8, 2.9).

Рис. 2.8. Сварка шин по верхним кромкам полуавтоматом в аргоне
1 - шины; 2 - струбцина; 3 - горелка полуавтомата; 4 - сварочный шов.

Рис. 2.9. Сварка пакетов шин по верхним кромкам (угольным электродом)
1 - шины; 2 - сборочное приспособление; 3 - угольные формующие вкладыши; 4 - присадка; 5 - электрод.
2.1.28. При монтаже комплектных шинопроводов (типа ШМА, например) основной объем работ, связанный с изготовлением укрупненных секций, следует выполнять в мастерских электромонтажных заготовок, где собираемые внахлест шины секций стандартной длины должны соединяться сваркой по верхним и нижним кромкам с кантовкой собранного узла (см. табл. 2.1, торцовое соединение) для повышения его прочности при транспортировке и монтаже. Собранные на проектной отметке соединения шин следует сваривать только с одной стороны, доступной для выполнения сварки.
Профили и трубы
2.1.29. Для изготовления токопроводов различного специального назначения, кроме прямоугольных шин должны применяться прессованные алюминиевые профили и трубы по ГОСТ 15176-89 Е следующих типов: швеллер, двутавр, уголок косоугольный, труба круглая и др.
Примеры сварных соединений шин из профилей и труб показаны на рис. 2.10 и 2.11.
2.1.30. Коробчатые шины следует изготавливать сваркой двух швеллеров, собираемых полками внутрь, при помощи сжимов и фиксаторов зазора - отрезков алюминиевых пластин (рис. 2.12); длина сварных швов равна примерно 100 мм, расстояние между швами (шаг) 1-2 м; швы должны выполняться с двух сторон полуавтоматической аргоно-дуговой сваркой.
2.1.31. Технологический процесс изготовления токопроводов из профилей и труб необходимо строить по принципу сварки отрезков профиля в непрерывную нить, от которой отрезают участки требуемой длины, поступающие на сборку трехфазных секций токопровода. Длину секций токопровода следует определять условиями транспортировки и монтажа, и как правило, выбирать кратной расстоянию между опорами или температурными компенсаторами.
2.1.32. Участки изготовления токопроводов должны оборудоваться роликовыми стендами, облегчающими передвижение и центровку профилей; механическими вращателями (кантователями), обеспечивающими выполнение сварки в удобном для работы положении (приложение 6): поворотными пилами, позволяющими производить резку профиля под заданным углом, другими необходимыми механизмами.

Рис. 2.10. Сварные соединения токопроводов из алюминиевых швеллеров и двутавра
а, л) секции токопровода с приваренным вкладышем; б, м) стыковые соединения; в, г, о) соединения тавровые; д, п) угловые соединения; е, ж, з, р, с, т) ответвления плоскими шинами; и, н) компенсаторы; к) оконцевание профиля плоскими шинами.
1 - швеллер; 2 - вкладыш; 3 - шов; 4 - плоская шина; 5 - компенсатор; 6 - двутавр отбортованный.

Рис. 2.11. Сварные соединения шин из труб
а) стыковое; б) угловое; в) тавровое; г, д, е) с прямоугольными шинами; ж) наконечник, выполненный сплющиванием конца трубы; з) наконечник с приваренной медно-алюминиевой пластиной; и) компенсатор из проводов, привариваемый непосредственно к трубе; к) компенсатор из проводов, привареных к фланцам.
1 - труба; 2 - сварной шов; 3 - плоская шина; 4 - медно-алюминиевая пластина; 5 - компенсатор из провода; 6 - фланец.

Рис. 2.12. Сварка коробчатой шины из алюминиевого швеллера
1 - швеллер; 2 - сжим; 3 - горелка сварочного полуавтомата; 4 -соединительный сварной шов.
2.1.33. Для облегчения сборки, центровки и сварки шин стыкуемых секций токопроводов следует применять вкладыши или подкладные кольца, изготавливаемые из алюминиевой полосы толщиной 3-5 мм и шириной 50-80 мм. Вкладыш (кольцо) должно крепиться на прихватках к одному из концов профиля и при последующей сварке состыкованных профилей служить формующей подкладкой, предотвращающей прожоги и протекания расплавленного металла.
2.1.34. При сварке профиля «отбортованный двутавр» сварной шов следует накладывать только по внешнему периметру профиля. Стык внутренних стенок профиля допускается не сваривать.
2.1.35. В токопроводах из швеллера и двутавра для компенсации температурных изменений длины должны применяться, как правило, шинные компенсаторы К52-К56 по ТУ36-14-82. Конструкции сварных соединений компенсаторов с профилями показаны на рис. 2.10.
Сечение компенсатора должно быть равным сечению профиля. Поскольку толщина компенсатора, привариваемого только к двум полкам профиля, больше толщины его полок, к ним с наружной стороны следует предварительно приваривать алюминиевые пластины соответствующей толщины (рис. 2.13).

Рис. 2.13. Приварка компенсаторов к токопроводу
1 - секции токопровода; 2 - компенсаторы; 3 - планки; 4 - сварной шов.
При сварке тавровых соединений труб торец примыкающей (ответвительной) трубы должен обрабатываться так, чтобы он сопрягался с поверхностью основной трубы, или в основной трубе следует высверливать отверстие, равное внешнему диаметру ответвительной трубы. Собранный узел необходимо сваривать по периметру сопряжения труб. Режимы сварки должны соответствовать режимам сварки труб с меньшей толщиной стенки.
При приварке ответвлений следует применять специальные приспособления, фиксирующие положение труб при сварке (рис. 2.14), либо сборку производить на прихватках. Прямоугольные шины при этом достаточно прижать на время сварки струбциной (рис. 2.15).
2.1.36. Компенсаторы для трубчатых токопроводов необходимо изготавливать, как правило, из алюминиевого неизолированного провода марки А по ГОСТ 839-80* Е. Для этого в зависимости от диаметра трубы следует нарезать куски проводов длиной 300-600 мм.
Конструктивно компенсаторы должны выполняться путем сплавления концов проводов в кольцевой монолит (рис. 2.11 и) либо путем приварки проводов к фланцам (рис. 2.11к) заклепочными швами.

Рис. 2.14. Приспособление для сборки под сварку таврового соединения труб
1 - коромысло; 2 - откидная планка; 3 - скоба; 4 - откидной винт; 5 - пята; 6 - винт прижимной.

Рис. 2.15. Сборка под сварку прямоугольной шины с трубой
1 - труба; 2 - струбцина; 3 - прямоугольная шина.
Для этого во фланцах следует делать отверстия, в которые вставляются привариваемые провода. Фланцы с приваренными проводами необходимо приваривать к трубам угловыми швами. Возможно также фланцы приваривать к трубам заблаговременно, а затем уже вставлять и приваривать провода.
При изготовлении компенсаторов без фланцев обработанные провода следует собирать в приспособление (рис. 2.16), состоящее из внутренней графитовой оправки и наружного зажимного кольца, в котором производится сварка проводов в кольцевой монолит, предназначенный для последующей приварки к трубам.
После сварки компенсатор изгибается в требуемую форму. На трубчатых шинах могут быть установлены также шинные компенсаторы из алюминиевых лент. При этом концы труб, к которым приваривается плоский компенсатор, сплющиваются. Сварку следует вести на режимах, соответствующих режимам сварки прямоугольных шин.

Рис. 2.16. Приспособление для сплавления алюминиевых проводов в монолит
1 - внутренняя графитовая оправка; 2 - шарнирное кольцо; 3 - шарнир; 4 - алюминиевые провода; 5 - барашек.
Приварка пакетов лент и жил проводов
2.1.37. Шинные компенсаторы следует изготавливать сплавлением концов пакетов лент в монолит при помощи аргонно-дуговой сварки плавящимся или неплавящимся электродом; возможна также сварка угольным электродом.
2.1.38. Сварка компенсатора в специальном приспособлении показана на рис. 2.17.
Режимы и техника сварки компенсатора и их приварки к шинам аналогичны режимам сварки шин соответствующей толщины (см. табл. 2.5, 2.6, 2.9). В процессе сварки форму необходимо доверху заплавить расплавленным металлом. Перед сваркой ленты пакета следует очистить, обезжирить и просушить.

Рис. 2.17. Сварка компенсатора
1 - сварной шов; 2 - графитовый вкладыш; 3 - горелка полуавтомата; 4 - приспособление для сварки; 5 - пакет лент; 6 - сварной монолит.
2.1.39. Провода к шинам должны, как правило, привариваться аргоно-дуговой сваркой. Допускается также сварка угольным электродом. Примеры сварных соединений проводов с шинами показаны на рис. 2.18.
Сварку проводов с алюминиевыми шинами следует выполнять в следующем порядке:
- с проводов удалить изоляцию на длине не менее 60 мм;
- при необходимости концы проводов обезжирить ацетоном или бензином;
- шину и жилы проводов зачистить стальной проволочной щеткой;
- с помощью приспособлений (рис. 2.19, 2.20) собрать свариваемый узел таким образом, чтобы провода выступали над шиной примерно на 5 мм;
- произвести сварку: при сечении жил проводов от 16 до 95 мм2 током 100-160 А, при сечении проводов от 120 до 240 мм2 - 150-220 А; технология сварки та же, что и при сварке шин;
- после сварки угольным электродом сварное соединение тщательно зачистить от шлака и остатков флюса.

Рис. 2.18 Сварные соединения с шинами
а) встык при горизонтальном расположении шины; б) электрозаклепкой; в) внахлестку при вертикальном расположении шины; г) угловое.
1 - шина, 2 - провод, 3 - сварной шов, 4 - электрозаклепка

Рис. 2.19. Приспособление для сварки проводов с шиной, установленной на плоскость
1 - шарнирная рамка; 2 - медный вкладыш; 3 - скоба; 4 - ручка зажима; 5 - ручка для переноски.

Рис. 2.20 Сварка проводов с шиной, установленной на ребро
1 - провода; 2 - шина; 3 - приспособление; 4 - графитовый вкладыш; 5 - сварной шов; 6 - горелка сварочного полуавтомата; 7 - сварочная проволока.
Оконцевание алюминиевых шин медно-алюминиевыми пластинами
2.1.40. Режимы и техника сварки медно-алюминиевых пластин с шинами толщиной до 12 мм аналогичны приведенным в табл. 2.5, 2.6, 2.9. Охлаждения шва, выполненного контактной сваркой, при этом не требуется.
2.2. Сварка медных шин
Ручная дуговая сварка угольным электродом
2.2.1. Для ручной дуговой сварки меди угольным электродом следует использовать то же оборудование, что и для сварки алюминия (см. табл. 2.7.).
2.2.2. Для сварки необходимы материалы, указанные в табл. 2.10.
Таблица 2.10.
Материалы для ручной дуговой сварки меди угольным электродом
- Допускается применение прутков, нарубленных из медных шин или листов.
- Допускается изготовление из электродов (отходов) дуговых электропечей (см. приложение 4).
2.2.3. При сварке шин из меди следует использовать такие же приспособления и инструменты, как при сварке шин из алюминия. Вследствие высокой жидкотекучести расплавленной меди необходимо очень тщательно и надежно заформовывать сварные соединения, чтобы исключить протечки металла при сварке. Сварку медных шин и компенсаторов необходимо производить на угольных подкладках с канавкой под стыком; торцы швов уплотнить угольными брусками.
2.2.4. Подготовка шин к сварке (кроме правки и резки по размеру) включает обработку свариваемых кромок в зависимости от толщины материалов в соответствии с ГОСТ 23792-79, зачистку свариваемых кромок на участке не менее 30 мм от их торцов.
2.2.5. Перед сваркой присадочные прутки следует очистить от жира и грязи. При необходимости несколько присадочных прутков складывают (скручивают) вместе.
2.2.6. Подготовленные к сварке шины необходимо уложить и закрепить в приспособлении, на свариваемые кромки насыпать тонкий слой флюса.
2.2.7. Начиная сварку, следует свариваемые кромки разогреть дугой, перемещая ее вдоль стыка до появления отдельных капель расплавленной меди в зоне дуги; после подогрева кромок дугу сосредоточить в начале шва до расплавления кромок и появления сварочной ванны; присадочный пруток ввести в задний край сварочной ванны (он должен плавиться от ее тепла). Сплавлять присадку каплями, внося ее в дугу, не рекомендуется, так как это ведет к интенсивному окислению металла и образованию трещин в шве. Погружая время от времени разогретый конец прутка во флюс, внести флюс в сварочную ванну.
Сразу после сварки необходимо шов резко охладить водой. Сварку медных шин по возможности следует выполнять за один проход. Режимы сварки и расход материалов приведены в табл. 2.11.
2.2.8. Нахлестанные и угловые соединения медных шин следует выполнять так же, как алюминиевых.
При сварке угловых швов этих соединений шины необходимо по возможности расположить «лодочкой», т.к. при этом ввиду высокой жидкотекучести расплавленной меди, создаются наиболее благоприятные условия для обеспечения хорошего качества сварных соединений (рис. 2.21 а).
При невозможности выполнения сварки в «лодочку» следует применять принудительное формирование шва угольными брусками (рис. 2.21б). В этом случае во избежание непровара кромки шины ответвления должны расплавляться только после расплавления сборной шины.

Рис. 2.21. Сварка медных шин внахлестку
а) расположение шин «лодочкой»; б) расположение шин «плашмя».
1, 2 - шины; 3 - сварной шов; 4 - угольный брусок
Режимы сварки шин внахлестку соответствуют приведенным в табл. 2.11.
Таблица 2.11.
Режимы ручной сварки меди угольным электродом
| Толщина шин, мм | Сварочный ток, А1 | Диаметр угольного электрода, мм | Диаметр присадочного прутка, мм | Расход на 100 мм шва, г | |
| присадки | флюса | ||||
| 3 | 150 | 12 | 4 | 29 | 1 |
| 4 | 180 | 12 | 4 | 35 | 2 |
| 5 | 220 | 12 | 6 | 65 | 3 |
| 6 | 260 | 15 | 6 | 105 | 4 |
| 8 | 320 | 15 | 8 | 150 | 5 |
| 10 | 400 | 20 | 8 | 210 | 7 |
| 12 | 500 | 20 | 10 | 290 | 9 |
| 20 | 1000 | 30 | 15 | 450 | 12 |
- Прямая полярность (минус источника питания - на угольном электроде).
Полуавтоматическая дуговая сварка в защитном газе
2.2.9. Этот способ сварки эффективен при соединении шин толщиной до 10 мм. При сварке больших толщин необходим предварительный и сопутствующий подогрев.
2.2.10. Для полуавтоматической сварки меди в защитном газе как и при сварке алюминия следует применять оборудование, указанное в п.п. 2.1.9, 2.1.10.
2.2.11. При сварке необходимы материалы, приведенные в табл. 2.12.
2.2.12. При подготовке шин к сварке кромки их следует обрабатывать в соответствии с требованиями ГОСТ 23792-79, очистить и обезжирить на ширине не менее 30 мм.
2.2.13. Электродную проволоку необходимо очистить от жира и грязи и намотать на кассету полуавтомата.
Таблица 2.12
Материалы для полуавтоматической аргоно-дуговой сварки меди
- Допускается изготовление из отходов графитированных анодов и катодных блоков электролизеров, а также электродов дуговых печей.
2.2.14. После укладки и закрепления шин в приспособлении следует выполнить их сварку по технологии, аналогичной сварке алюминиевых шин (см. рис. 2.22).

Рис. 2.22. Полуавтоматическая сварка медных шин в защитном газе
1 - шина; 2 - графитовая формующая подкладка; 3 - сопло горелки; 4 - шов; 5 - сварочная проволока
Перед сваркой шин толщиной более 10 мм необходимо произвести предварительный подогрев кромок до температуры 600-800°С. Для подогрева следует использовать пропано-кислородное или ацетилено-кислородное пламя.
Немедленно после окончания сварки соединение необходимо охладить водой.
Режимы сварки и ориентировочный расход материалов приведены в табл. 2.13.
2.2.15. Сварку одиночных шин в вертикальном и горизонтальном положениях следует выполнять при использовании электродной проволоки диаметром 1,2 мм. В этом случае необходимо применять приспособление для фиксации и подогрева шин. Шины толщиной до 4 мм должны собираться под сварку без разделки кромок; при толщине 5 мм и более необходим односторонний скос кромок под углом 30° с притуплением около 2 мм. Зазор между кромками не должен превышать 3 мм.
Шины перед сваркой следует подогреть до температуры 600°С. Первый проход должен выполняться «ниточным» швом; последующие проходы - с поперечными колебаниями горелки.
Режимы сварки приведены в табл.2.14.
После сварки шов следует охладить водой.
Таблица 2.13
Режимы полуавтоматической аргоно-дуговой сварки меди
| Толщина шины, мм | Диаметр сварочной проволоки, мм | Сварочный ток1, А | Напряжение на дуге, В | Расход на 100 мм шва | |
| электродной проволоки, г | аргона, л | ||||
| 3 | 1,2-1,6 | 240-280 | 37-39 | 20 | 10 |
| 4 | 1,2-1,6 | 280-320 | 38-40 | 24 | 11 |
| 5 | 1,4-1,8 | 320-360 | 39-41 | 33 | 12 |
| 6 | 1,4-1,8 | 360-400 | 40-42 | 47 | 14 |
| 7 | 1,6-2,0 | 400-440 | 41-43 | 64 | 15 |
| 8 | 1,8-2,0 | 440-480 | 42-44 | 84 | 17 |
| 9 | 2,0-2,5 | 480-520 | 43-45 | 106 | 18 |
| 10 | 2,0-2,5 | 520-560 | 44-46 | 130 | 20 |
Таблица 2.14
Режимы вертикальной полуавтоматической сварки медных шин
- Постоянный ток, полярность обратная.
Плазменная сварка
2.2.16. Для плазменной сварки следует применять установки типа УПС-301, УПС-503, а также УРПС-3М, включающую источник питания, пульт управления, плазмотрон и систему водяного охлаждения (установка УРПС, черт.ЛЭ 10942, ЛенПЭО НПО «Электромонтаж»).
2.2.17. При сварке должны использоваться материалы, указанные в табл. 2.12.
2.2.18. Перед плазменной сваркой свариваемые шины и присадочные прутки следует подготавливать как при полуавтоматической сварке.
2.2.19. Сварку шин необходимо выполнять в приспособлениях, исключающих протечки расплавленного металла, как при сварке угольным электродом.
2.2.20. Приступая к сварке, сначала следует зажигать вспомогательную дугу, которая необходима для ионизации межэлектродного пространства, и, тем самым, для облегчения возбуждения основной дуги.
При поднесении горелки с зажженной вспомогательной дугой к свариваемым шинам на расстояние около 10 мм возникает основная дуга, используемая для расплавления металла.
Техника плазменной сварки аналогична технике ручной аргоно-дуговой сварки вольфрамовым электродом: подогреть шины, расплавить кромки, ввести присадку и перемещать сварочную ванну вдоль кромок. Схема сварки показана на рис. 2.23.

Рис. 2.23. Схема ручной плазменной сварки
1 - присадочный пруток; 2 - плазменная горелка; 3 - свариваемые шины.
Режимы плазменной сварки приведены в табл. 2.15.
Таблица 2.15
Режимы плазменной сварки меди
| Толщина шины, мм | Зазор между кромками шин, мм | Сварочный ток, А | Напряжение на дуге, В | Диаметр присадочного прутка, мм |
| 4 | 2 | 350-400 | 37-40 | 4 |
| 6 | 4 | 380-440 | 37-40 | 6 |
| 10 | 4 | 440-450 | 40-45 | 8 |
| 12,5 | 4 | 450-500 | 40-45 | 10 |
| 20 | 5 | 800 | 40-45 | 15 |
Примечания :
- Расстояние от сопла до изделия » 10 мм.
- Расход плазмообразующего газа (аргона) 3-6 л/мин.
Особенности сварки медных компенсаторов
2.2.21. Для обеспечения полного провара пакета на всю толщину, ленты компенсатора следует укладывать ступенчато. Под нижнюю и на верхнюю ленты необходимо укладывать медные полоски шириной » 50 мм из той же ленты для защиты от подплавления крайних лент.
2.2.22. Для защиты лент от перегрева на их верхнюю поверхность на расстоянии 10 мм от кромки следует накладывать медные теплоотводящие пластины толщиной 8-10 мм.
2.2.23. Режимы сварки пакетов лент аналогичны режимам сварки медных шин соответствующей толщины. Сварку необходимо выполнять аналогично сварке шин встык с той разницей, что дугу направляют преимущественно на шину.
2.3. Сварка электромонтажных изделий из разнородных металлов
2.3.1. Медь с алюминием следует сваривать при изготовлении переходных медно-алюминиевых пластин и наконечников стыковой контактной сваркой оплавлением с ударной осадкой на специальных контактных стыковых машинах.
Сварка должна выполняться на заводах электромонтажных изделий в соответствии с производственными инструкциями.
Переходные медно-алюминиевые пластины (МА и MAP) предназначены для приварки к алюминиевым шинам в местах их присоединения к медным плоским или стержневым выводам электрических аппаратов и машин.
В этих же случаях могут применяться переходные пластины из алюминиевого сплава АД31Т1 типа АП.
2.3.2. Алюминий следует сваривать со сталью дуговой сваркой, например, при изготовлении сталеалюминиевых троллейных планок и компенсаторов; аргоно-дуговой полуавтоматической или ручной сваркой вольфрамовым электродом (а также ручной сваркой угольным электродом) с предварительным горячим алитированием или оцинковкой стальной детали.
Сталеалюминиевые детали (планки У1040 и троллейные компенсаторы У1008 и др.) предназначены для сварного соединения алюминиевых проводников со стальными, а также стальных проводников (троллеев) между собой. При этом стальная часть планок должна привариваться к стальному проводнику обычными электродами для сварки стали, а алюминиевая - к алюминиевому проводнику - в соответствии с требованиями настоящей инструкции.
3. РАЗБОРНЫЕ КОНТАКТНЫЕ СОЕДИНЕНИЯ
3.1. Технология выполнения соединений
3.1.1. Разборные (болтовые) контактные соединения в зависимости от материала соединяемых шин и климатических факторов внешней среды подразделяются на соединения:
- без средств стабилизации электротехнического сопротивления;
- со средствами стабилизации электрического сопротивления.
3.1.2. Контактные соединения шин из материалов медь-медь, алюминиевый сплав - алюминиевый сплав, медь-сталь, сталь-сталь для групп А и Б, а также из материалов алюминиевый сплав - медь и алюминиевый сплав-сталь для группы А не требуют применения средств стабилизации электрического сопротивления. Соединения выполняются непосредственно с помощью стальных крепежных деталей (рис. 3.1 а).

Рис. 3.1. Разборные контактные соединения
1 - болт; 2 - гайка; 3 - шайба; 4 - шина (сталь, медь, алюминиевый сплав); 5 - пружина тарельчатая; 6 - шайба из цв. металла; 7 - болт из цветного металла; 8 - гайка из цветного металла; 9 - шина алюминиевая; 10 - шина алюминиевая с металлопокрытием; 11 - пластина переходная медно-алюминиевая; 12 - пластина из алюминиевого сплава.
3.1.3. Контактные соединения шин из материалов алюминий-алюминий, алюминиевый сплав-алюминий для групп А и Б, а также из материалов алюминий - медь и алюминий-сталь для группы А следует выполнять с помощью одного из средств стабилизации сопротивления:
- тарельчатых пружин по ГОСТ 3057-79* (рис. 3.1б);
- крепежных изделий из меди или ее сплава (рис. 3.1в);
- защитных металлических покрытий по ГОСТ 9.306-85*, наносимых на рабочие поверхности шин1 (рис. 3.1г), - приложение 8;
_______________
* Допускается применение электропроводящих смазок или других электропроводящих материалов, если возможность их применения подтверждена результатами испытаний по ГОСТ 17441-84 и указана в стандартах или технических условиях на конкретные виды электротехнических устройств.
- переходных медно-алюминиевых пластин по ГОСТ 19357-81* (рис. 3.1д);
- переходных пластин из алюминиевого сплава (рис. 3.1е).
3.1.4. Для группы Б контактные соединения шин из материалов алюминиевый сплав-медь, алюминиевый сплав-сталь, следует выполнять как показано на рис. 3.1д, е; из материалов алюминий-медь, алюминий-сталь - как показано на рис. 3.1б, в, д, е.
Рабочие поверхности шин и пластин из алюминия и алюминиевого сплава должны иметь защитные металлопокрытия.
3.1.5. Пластины из алюминиевого сплава и алюминиевые части медно-алюминиевых пластин следует соединять с алюминиевыми шинами сваркой. Разборные соединения переходных пластин с медными шинами необходимо выполнять с помощью стальных крепежных деталей.
3.1.6. Расположение и диаметр отверстий для соединения шин шириной до 120 мм приведены в табл. 3.1. Зависимость диаметра отверстия в шинах от диаметра стягивающих болтов следующая:
3.1.7. Контактные участки шин шириной 60 мм и более, имеющие два отверстия в поперечном ряду, рекомендуется выполнять с продольными разрезами. Ширина разреза зависит от способа его выполнения и должна быть не более 5 мм.
Таблица 3.1.
Размеры, мм
| Соединение | Ответвление | в³в1 | d |
![]() |
![]() |
||
| 15 | 6,6 | ||
| 20 | 9,0 | ||
| 25 | 11 | ||
| 30 | 11 | ||
| 40 | 14 | ||
| 50 | 18 | ||
![]() |
![]() |
||
| 60 | 11 | ||
| 80 | 14 | ||
| 100 | 18 | ||
| 120 | 18 | ||
![]() |
|||
| 80 | 14 | ||
| 100 | 18 | ||
| 120 | 18 | ||
3.2. Подготовка и сборка разборных соединений
3.2.1. Подготовка шин для разборного соединения состоит из следующих операций: выполнение отверстий под болты, обработка контактных поверхностей и, при необходимости, нанесение металлопокрытия.
3.2.2. Расположение и размеры отверстий под болты должны соответствовать указанным в п. 3.1.6.
3.2.3. При массовой заготовке шин рекомендуется вырубку отверстий производить на прессах. Для этой цели следует применять пресс ПРУ-1. Одновременная вырубка нескольких отверстий может быть осуществлена с помощью специальных приспособлений. При вырубке отверстий с применением упора и кондукторов разметку производить не следует.
3.2.4. Длину болтов для соединения пакета шин необходимо выбирать по табл. 3.2. На болтах после сборки и затяжки соединений должно оставаться не менее двух ниток свободной резьбы.
Таблица 3.2.
| Толщина пакета шин в соединении, мм | Длина болтов, мм | ||||||
| алюминиевых с алюминиевыми | алюминиевых с медными или с шинами из алюминиевого сплава | медных или стальных | М6 | М8 | М10 | М12 | М16 |
| - | 4 | 4-6 | 16 | 20 | 20 | - | - |
| 4 | 6-7 | 7-10 | - | 20 | 25 | 30 | - |
| 5-10 | 8-10 | 11-15 | - | 25 | 30 | 35 | - |
| 11-12 | 12-15 | 16-20 | - | - | 35 | 40 | - |
| 13-17 | 16-20 | 21-25 | - | - | 40 | 45 | 50 |
| 18-22 | 21-25 | 26-30 | - | - | 45 | 50 | 55 |
| 23-27 | 26-30 | 31-35 | - | - | 50 | 55 | 60 |
| 28-32 | 31-35 | 36-40 | - | - | 55 | 60 | 65 |
| 33-37 | 36-40 | 41-45 | - | - | 60 | 65 | 70 |
| 38-42 | 41-45 | 46-50 | - | - | 65 | 70 | 75 |
| 43-47 | 46-50 | 51-55 | - | - | 70 | 75 | 80 |
| 48-52 | 51-55 | 56-60 | - | - | 75 | 80 | 85 |
| 53-57 | 56-60 | 61-65 | - | - | 80 | 85 | 90 |
| 58-62 | 61-65 | 66-70 | - | - | - | 90 | 95 |
| 63-67 | 66-70 | 71-75 | - | - | - | 95 | 100 |
| 68-72 | 71-75 | 76-81 | - | - | - | 100 | 105 |
3.2.5. Контактные поверхности шин необходимо обрабатывать в следующем порядке: удалить бензином, ацетоном или уайт-спиритом грязь и консервирующую смазку, у сильно загрязненных шин гибкой ошиновкой кроме очистки внешних повивов после расплетки очистить внутренние повивы; выправить и обработать под линейку на шинофрезерном станке (при наличии вмятин, раковин и неровностей); удалить посторонние пленки стальной щеткой, диском с кардолентой или драчевым напильником. Зачистку шин в мастерских электромонтажных заготовок рекомендуется производить на станке ЗШ-120. При зачистке алюминия применять шлифовальные круги не допускается. Не следует применять напильники и стальные щетки для одновременной обработки шин из различных материалов.
3.2.6. Для удаления окисных пленок рабочие поверхности следует зачищать. По окончании зачистки шин из алюминия или алюминиевого сплава на их поверхность необходимо нанести нейтральную смазку (вазелин КВЗ по ГОСТ 15975-70*, ЦИАТИМ-221 по ГОСТ 9433-80*, ЦИАТИМ-201 по ГОСТ 6267-74* или другие смазки с аналогичными свойствами). Рекомендуемое время между зачисткой и смазкой - не более 1 ч.
3.2.7. Способы и технология нанесения металлопокрытий на контактные поверхности шин даны в приложении 8.
3.2.8. Поверхности, имеющие защитные металлические покрытия, в случае загрязнения следует промывать перед сборкой органическими растворителями (бензином, уайт-спиритом и т.д.).
Луженые медные желобки, предназначенные для закрепления медных шин в петлевых зажимах, необходимо промывать растворителем и покрывать слоем нейтральной смазки (вазелин КВЗ по ГОСТ 15975-70*, ЦИАТИМ-201 по ГОСТ 6267-74*, ЦИАТИМ-221 по ГОСТ 9433-80* или другими смазками с аналогичными свойствами). Зачищать такие желобки наждачной бумагой не следует.
3.2.9. Допускается наносить металлопокрытия на отрезки шин (пластин), которые затем приваривают к шинам на монтаже. Длина покрываемого отрезка шины (пластины) в зависимости от длины сечения этого отрезка должна быть:
3.2.10. Затягивать болты контактных соединений рекомендуется индикаторными ключами с крутящим моментом по табл. 3.3.
Таблица 3.3.
3.2.11. При отсутствии моментных ключей болты контактных соединений медных, стальных шин и шин из алюминиевого сплава следует затягивать гаечными ключами нормальным усилием руки (150-200 Н). Соединения алюминиевых шин необходимо предварительно обжать путем затяжки болтов диаметром М12 и выше полным усилием руки (около 400 Н), затем соединения ослабить и вторично затянуть болты нормальным усилием. Для диаметров болтов 6-10 мм делать обжатие не следует.
Соединения с тарельчатыми пружинами следует затягивать в два приема. Вначале болт затягивают до полного сжатия тарельчатой пружины, затем соединение ослабляют поворотом ключа в обратную сторону на 1/4 оборота (на угол 90°) для болтов М6-М12 и на 1/6 оборота (угол 60°) - для остальных болтов.
4. СОЕДИНЕНИЯ ШИН С ВЫВОДАМИ
4.1. Выводы электротехнических устройств согласно ГОСТ 21242-75* могут быть плоскими и штыревыми. Размеры выводов приведены в приложении 9.
4.2. Сварные соединения шин с выводами из однородных металлов должны выполняться согласно указаниям, приведенным в разделе 2.
Сварное соединение шин из алюминия и его сплавов с медным выводом следует выполнять с помощью переходной медно-алюминиевой пластины.
4.3. Разборные соединения шин с плоскими выводами в зависимости от материала выводов, шин и от климатических факторов внешней среды должны выполняться одним из способов, указанных в п.п. 3.1.2-3.1.7.
4.4. Для группы А контактные соединения шин со штыревыми выводами в зависимости от материала шины и значения номинального тока вывода следует выполнять:
- для шин из меди, стали и алюминиевого сплава - непосредственно стальными гайками1 (рис. 4.1,а);
_________________
1 Во всех случаях должны применяться упорные гайки из меди или латуни.
- для шин из алюминия с выводом на номинальный ток до 630 А - непосредственно гайками из меди и ее сплавов по ГОСТ 5916-70* (рис. 4.1, б); на номинальный ток выше 630 А - непосредственно стальными или медными гайками с защитным металлопокрытием рабочей поверхности шины (рис. 4.1, в) или с помощью переходных медно-алюминиевых пластин по ГОСТ 19357-81* (рис. 4.1, г), или переходных пластин из алюминиевого сплава (рис. 4.1, д).
4.5. Для группы Б контактные соединения шин со штыревыми выводами в зависимости от материала шин следует выполнять:
- шин из меди - непосредственно стальными гайками (рис. 4.1, а);
- шин из алюминия и алюминиевого сплава - с помощью переходных медно-алюминиевых пластин по ГОСТ 19357-81* (рис. 4.1, г) или переходных пластин из алюминиевого сплава (рис. 4.1, д), при этом переходные пластины из алюминиевого сплава должны иметь защитное металлопокрытие.
4.6. Размеры отверстий в шинах должны соответствовать диаметру штыревого вывода:
| Диаметр штыревого вывода, мм | 6 | 8 | 10 | 12 | 16 | 20 | 24 | 30 | 36 | 42 | 48 | 56 |
| Размер отверстия в шине, мм | 6,6 | 9 | 11 | 14 | 18 | 22 | 26 | 33 | 39 | 45 | 52 | 62 |

Рис. 4.1. Соединение со штыревыми выводами
1 - штыревой вывод (медь, латунь); 2 - гайка (ст); 3 - шина (медь, сталь, алюминиевый сплав); 4 - гайка (медь, латунь); 5 - шина (алюминиевый сплав); 6 - шина с металлопокрытием; 7 - пластина переходная медно-алюминиевая; 8 - пластина переходная медно-алюминиевая; 8 - пластина из алюминиевого сплава.
5. СОЕДИНЕНИЯ ГИБКИХ ШИН МЕЖДУ СОБОЙ И С ВЫВОДАМИ В ОТКРЫТЫХ РАСПРЕДЕЛИТЕЛЬНЫХ УСТРОЙСТВАХ
5.1. Соединения и ответвления на медных, стальных, алюминиевых и сталеалюминиевых гибких шинах открытых распределительных устройств следует выполнять обжатием, опрессованием, с помощью петлевых или ответвительных болтовых зажимов. Ответвления алюминиевых и сталеалюминиевых шин должны преимущественно выполняться пропано-кислородной сваркой. Оконцевания следует выполнять аппаратными зажимами, соединяемыми с гибкой шиной опрессованием, болтами или сваркой. Технология выполнения спрессованных и сварных соединений гибких шин приведена в инструкции.
5.2. Болтовые петлевые и ответвительные зажимы должны изготовляться для алюминиевых и сталеалюминиевых шин - из алюминиевых сплавов, для медных - из латуни, для стальных - из стали (рис. 5.1, 5.2).
В болтовые петлевые зажимы, предназначенные для соединения медных шин с алюминиевыми, на заводе-изготовителе необходимо впаивать луженые медные желобки.
5.3. Болтовые аппаратные зажимы рассчитаны на затяжку шин с помощью плашек (рис. 5.3). Для медных шин их следует изготавливать из латуни, для алюминиевых - из алюминиевых сплавов.

Рис. 5.1. Зажим петлевой
1 - планка зажимная; 2 - прижим; 3 - болт; 4 - гайка; 5 - шайба пружинная.

Рис. 5.2. Зажим ответвительный
1 - основание; 2 - прижим; 3 - болт; 4 - гайка; 5 - шайба пружинная.

Рис. 5.3. Аппаратные болтовые зажимы
а - для присоединения к стержневому выводу и плоскому, имеющему одно отверстие. б, в - для присоединения к плоским выводам, имеющим два и четыре отверстия.
В конструкции аппаратных зажимов, предназначенных для алюминиевых шин, предусмотрены переходные медные пластины, скрепленные с корпусом зажима пайкой или сваркой. Эти пластины обеспечивают лучший контакт при соединении алюминиевого аппаратного зажима с медным выводом аппарата или с алюминиевым выводом, плакированным или армированным медью.
Если алюминиевый аппаратный зажим соединяется с алюминиевым выводом болтами или сваркой, медные пластины следует удалить.
Аппаратные зажимы имеют одно, два или четыре отверстия для присоединения к выводам аппаратов или шинам.
5.4. Аппаратные зажимы, имеющие в лапке одно отверстие диаметром 14,5 мм, допускается рассверливать по диаметру штыревого вывода, но не свыше 30 мм.
5.5. Шины в зажиме следует закреплять в следующем порядке:
- заложить шину в соответствующие желобки зажима (при монтаже переходных зажимов с меди на алюминий медная шина должна соприкасаться с луженым медным желобком, а алюминиевая - с алюминиевым);
- установить плашки;
- покрыть нарезанную часть болтов смазкой марки АМС-1, не допуская попаданий ее на контактную поверхность;
- затянуть болты.
Затяжку болтов гайками необходимо производить так, чтобы все части зажима испытывали одинаковое давление по длине контакта. После полной затяжки болтов между плашками должен оставаться зазор 3-4 мм. Сближение плашек вплотную указывает на то, что размеры желобков не соответствуют данной шине и требуемое давление в контакте не обеспечено. Такие зажимы подлежат замене.
5.6. Оконцевания гибких шин аппаратными зажимами для соединения с плоскими выводами аппаратов следует производить в соответствии с конструкцией вывода.
5.7. Соединения гибких шин, оконцованных аппаратными зажимами, с плоскими выводами аппаратов должны выполняться непосредственно.
5.8. Соединения гибких шин, оконцованных аппаратными зажимами, со штыревыми выводами аппаратов следует выполнять:
- медных, оконцованных аппаратным зажимом с одним отверстием, при диаметре вывода до 28 мм - непосредственно; при диаметре вывода свыше 28 мм - через медные планки;
- медных, оконцованных аппаратными зажимами с двумя и четырьмя отверстиями - через медные планки;
- алюминиевых и сталеалюминиевых, оконцованных аппаратными зажимами, - через медные планки.
6. КОНТРОЛЬ КАЧЕСТВА КОНТАКТНЫХ СОЕДИНЕНИЙ
6.1. Правила приемки
6.1.1. Проверку соединений следует производить при квалификационных, типовых, периодических и приемо-сдаточных испытаниях электротехнических устройств в соответствии с требованиями ГОСТ 17441-84.
6.1.2. Все виды проверок и объем выборки при квалификационных испытаниях приведены в табл. 6.1.
6.1.3. Соединения, не выдержавшие испытания по одному из пп. 1-7 табл. 6.1, необходимо подвергать повторным испытаниям по этому пункту на удвоенном количестве образцов, при этом результаты повторных испытаний являются окончательными.
6.1.4. Виды проверок и объем выборки при типовых испытаниях должны быть достаточными для проверки тех характеристик соединений, которые могут измениться вследствие изменения конструкции, материала или технологии изготовления.
6.1.5. При периодических испытаниях следует выполнять проверки по пп. 1, 4, 5 табл. 6.1. Периодические испытания должны проводиться, как правило, один раз в два года.
6.1.6. При приемо-сдаточных испытаниях следует выполнять проверки по пп. 1 и 4 табл. 6.1. Объем выборки должен быть установлен в стандартах или технических условиях на конкретные виды электротехнических устройств; при отсутствии таких указаний объем выборки должен составлять 0,5% (но не менее 3 шт.) соединений одного типоразмера, предъявляемых одновременно по одному документу. Отбор соединений в выборку должен осуществляться по ГОСТ 18321-73*.
Таблица 6.1.
| Наименование проверок | Пункты | Число образцов, не менее | Примечание | |
| технических требований | методов испытаний | |||
| настоящей инструкции | ||||
| 1. Проверка соответствия требованиям к конструкции | 1.4; 1.5.1; 1.5.2; 1.6.7; 1.6.8 | 6.2.1...6.2.4 | 16 | При проверках по п. 1-7 |
| 2. Испытание на воздействие климатических факторов внешней среды | 1.5.8 1.6.9 |
6.2.5 | 3 | После проверки по п. 1 |
| 3. Испытание на воздействие статической осевой нагрузки | 1.5.3 1.6.1 |
6.2.6 | 3 | После проверки по п. 1 |
| 4. Определение начального электрического сопротивления | 1.5.4, 1.6.2, 1.6.3 |
6.2.7 | 10 | После проверки по п. 1 |
| 5. Испытание на нагревание номинальным (длительно допустимым) током | 1.5.6 1.6.5 |
6.2.8 | 10 | После проверки по п. 4 |
| 6. Ускоренное испытание в режиме циклического нагревания | 1.5.5 1.6.4 |
6.2.9 | 7 | После проверки по п. 5 |
| 7. Испытание на стойкость при сквозных токах | 1.5.5, 1.6.4, 1.5.7, 1.6.6 | 6.2.10 | 3 | После проверки по п. 5 |
6.2. Методы испытаний
6.2.1. При монтаже контактных соединений для испытаний следует контролировать их соответствие требованиям ГОСТ 10434-82*, ТУ на конкретные виды электротехнических устройств или требованиям настоящей инструкции.
6.2.2. У плоских разборных соединений необходимо контролировать плотность прилегания контактных поверхностей. Соединения можно считать выдержавшими испытания, если щуп толщиной 0,03 мм не входит в паз сопряжения токоведущих деталей далее зоны, ограниченной периметром шайбы или гайки (рис. 6.1). При наличии шайб разного диаметра эту зону следует определять диаметром меньшей шайбы. Для сжимных соединений суммарная длина участков вхождения щупа толщиной 0,03 мм в стык между сопрягаемыми плоскостями проводников не должна превышать 25% периметра нахлеста.
Рис. 6.1. Контроль плотности прилегания контактных поверхностей
Допустимая глубина вхождения щупа толщиной 0,03 мм равна
6.2.3. У неразборных соединений, выполненных опрессовкой, необходимо контролировать геометрические размеры опрессованной части на соответствие требованиям п. 1.5.2. (рис. 6.2).

Рис. 6.2. Контролируемые элементы опрессованных соединений
6.2.4. У сварных или паяных соединений следует контролировать отсутствие трещин, подрезов, незаплавленных кратеров и соответствие сварных швов требованиям п. 1.5.1.
6.2.5. Испытание на воздействие климатических факторов внешней среды необходимо проводить на соответствие требованиям п. 1.5.8. Соединения можно считать выдержавшими испытание, если при визуальном осмотре на их контактных поверхностях не будет обнаружено очагов коррозии, препятствующих эксплуатации, и если рост электрического сопротивления после испытания не превышает значений, установленных в пп. 1.5.5, 1.6.4.
6.2.6. Испытание на воздействие осевой нагрузки для сварных соединений следует проводить по ГОСТ 6996-66* на стандартных образцах или соединениях; испытания паяных, опрессованных и разборных соединений - по ГОСТ 1497-84*.
Прочность соединения следует оценивать путем сравнения статических осевых нагрузок, разрушающих соединение и целую шину.
Соединения можно считать выдержавшими испытание, если они выдерживают статические осевые нагрузки, указанные в пп. 1.5.3, 1.6.1.
6.2.7. Электрическое сопротивление соединения следует измерять на участке между точками, указанными на рис. 6.3.
Сопротивление проводника необходимо измерять на контрольном сопротивлении (целый участок проводника, равный условной длине 1 соединения).
Измерение следует вести с помощью щупов с острыми иглами, разрушающими окисную пленку. Сопротивление (падение напряжения) соединений должно измеряться методом вольтметра-амперметра на постоянном токе, микроомметром или двойным мостом с использованием электроизмерительных приборов класса точности не ниже 0,5.
Сопротивление соединений гибких шин следует измерять только методом вольтметра-амперметра.

Рис. 6.3. Точки измерения сопротивлений
а - болтовое соединение шин; б - ответвление от шин (болтовое соединение); в - соединение шины с плоским выводом; г - сварное соединение (ответвление от шин); д - сварное соединение; е - соединение гибких шин; ж - ответвление от гибкой шины; з - оконцевание гибкой шины; и - соединение шины с гибким выводом.
Измерения должны производиться при температуре окружающей среды 20°±10°С.
При определении сопротивления методом вольтметра-амперметра измерительный ток рекомендуется принимать не более 0,3 номинального тока проводника. Соединения можно считать выдержавшими испытание, если среднее значение сопротивления выборки удовлетворяет требованиям п.п. 1.5.4, 1.6.2 и 1.6.3.
6.2.8. Испытанию на нагревание номинальным током следует подвергать соединения, прошедшие проверку по п. 6.2.7. Нагревание производят постоянным или переменным током. При отсутствии в стандартах и технических условиях на конкретные виды электротехнических устройств значения номинального тока, следует проводить испытания на испытательном токе, значения которого приведены в ГОСТ 17441-84.
Методы испытаний - по ГОСТ 2933-83*. Линейные контактные соединения собирают в последовательную цепь. Длина шин, соединяющих контактные соединения, должна быть не менее:
при площади сечения до 120 мм2 включительно - 2 м, при площади сечения свыше 120 мм2 - 3 м.
Соединения можно считать выдержавшими испытания, если их температура с учетом верхнего рабочего значения температуры окружающего воздуха по ГОСТ 15543-70* (измеренное превышение температуры над температурой воздуха при испытаниях плюс верхнее рабочее значение температуры окружающего воздуха) не выше значений, указанных в пп. 1.5.6, 1.6.5.
6.2.9. Ускоренному испытанию в режиме циклического нагревания следует подвергать макеты контактных соединений, прошедшие проверку по п. 6.2.8. Длина отрезков шин макетов должна быть 250-300 мм. Ускоренное испытание состоит в попеременном (циклическом) нагревании соединений током до 120±5°С с последующим их охлаждением до температуры 25±10°С. Значение тока испытания необходимо устанавливать опытным путем из расчета времени нагревания соединений 3-10 мин. Для ускорения испытания допускается охлаждение соединений обдувом.
Количество циклов «нагревание-охлаждение» должно быть не менее 500.
В процессе испытания периодически через каждые 100 циклов следует измерять электрическое сопротивление соединений в соответствии с п. 6.2.7. и определять среднее значение сопротивления выборки.
Соединения можно считать выдержавшими испытание, если среднее значение сопротивления выборки после каждого опыта из 100 циклов в сравнении со средним значением сопротивления выборки, полученным до начала испытаний соответствует требованиям пп. 1.5.5, 1.6.4.
6.2.10. Испытанию на стойкость при сквозных токах следует подвергать соединения, прошедшие испытания по п. 6.2.8. Методы испытаний соединений - по ГОСТ 2933-83* и ГОСТ 687-78* Е. Соединения можно считать выдержавшими испытание, если они соответствуют требованиям пп. 1.5.5, 1.6.4, 1.5.7 и 1.6.6 по электрическому сопротивлению соединения и температуре нагрева при сквозном токе.
7. ТЕХНИКА БЕЗОПАСНОСТИ
7.1. При монтаже контактных соединений следует выполнять требования СНиП III-4-80. Контактные соединения в части требований безопасности должны соответствовать ГОСТ 12.2.007.0-75* и обеспечивать условия эксплуатации, установленные «Правилами технической эксплуатации установок потребителей» и «Правилами техники безопасности при эксплуатации электроустановок потребителей», утвержденными Госэнергонадзором 21 декабря 1984 г.
Приложение 1
Таблица П1.1
Термины, упомянутые в Инструкции
| Термин | Документ, устанавливающий термин | Определение |
| Электротехническое устройство | ГОСТ 18311-80* | Устройство, в котором при работе его в соответствии с назначением производится, преобразуется, передается, распределяется или потребляется электрическая энергия. |
| Контактное соединение | ГОСТ 14312-79 | Контактный узел, образующий неразмыкаемый контакт |
| Разборное контактное соединение | То же | Контактное соединение, которое может быть разомкнуто без его разрушения. Например, винтовое, болтовое и др. |
| Неразборное контактное соединение | То же | Контактное соединение, которое не может быть разомкнуто без его разрушения. Например, сварное, паяное, клепаное и др. |
| Линейное контактное соединение | То же | Контактное соединение двух и более проводников токопроводов, кабелей, воздушных линий электропередачи, внешних цепей управления, сигнализации, защиты и др. |
| Начальное электрическое сопротивление контактного соединения | То же | Сопротивление контактного соединения, измеренное непосредственно после сборки (до испытаний) |
| Твердый алюминиевый сплав | То же | Алюминиевый сплав с временным сопротивлением разрыву не менее 130 МПа (13 кгс/мм2) |
| Переходная пластина | ГОСТ 19357-81* | Токоведущая деталь, предназначенная для соединения токоведущих шин из разнородных материалов и присоединения токоведущих шин из одного материала к выводам электротехнических устройств из другого материала |
| Пластина медно-алюминиевая | То же | Переходная пластина, состоящая из медной и алюминиевой частей |
| Пластина из алюминиевого сплава | То же | Переходная пластина из твердого алюминиевого сплава |
| Заземляющий проводник | ПУЭ-86 | Проводник, соединяющий заземляемые части с заземлителем |
| Нулевой защитный проводник | То же | Проводник, соединяющий зануляемые части с нейтралью электроустановки |
| Абразивное лужение | ГОСТ 17325-79* | Способ лужения с одновременным удалением с поверхности металла окисной пленки при трении твердыми металлическими или неметаллическими частицами |
| Лужение погружением в расплавленный припой | То же | - |
| Штучный электрод (электрод покрытый) | ГОСТ 2601-84* | Электрод, покрытый смесью веществ, нанесенных на электрод, для усиления ионизации, защиты от вредного воздействия среды и металлургической обработки сварочной ванны |
| Однородные материалы | То же | Материалы, номинальные электрохимические потенциалы которых близки по значению |
| Разнородные материалы | То же | Материалы с различными значениями номинальных электрохимических потенциалов |
Приложение 2
Химическая обработка сварочной проволоки из алюминия и его сплавов
Для обезжиривания и удаления окисной пленки проволоку следует помещать на 0,5-1 мин для травления в ванну с 5%-ным раствором едкого натра технического марки А по ГОСТ 2263-79*. Температура раствора 60-70°С.
После травления проволоку необходимо промыть в горячей проточной воде в течение 30-40 с. Промытую проволоку осветляют погружением на 30-40 с в 15%-ный раствор азотной кислоты по ГОСТ 701-89Е при комнатной температуре (16-25°С).
Осветленную проволоку следует промыть в проточной воде в течение 30-40 с и просушить в шкафу при температуре 100-150°С.
Обработанную проволоку необходимо хранить в герметически закрытой таре в сухом месте.
Проволоку с химически обработанной поверхностью наматывают на катушки механическим способом рядами без перегибов и зазоров.
Катушки с проволокой следует помещать в полиэтиленовый мешок вместе с контрольным пакетом порошка обезвоженного силикагеля-индикатора (ГОСТ 8984-75*), который герметизируется при относительной влажности окружающего воздуха менее 20% в течение 30 мин после обработки.
Помещения, в которых регулярно производится химическая обработка сварочной проволоки, должны соответствовать требованиям «Общесоюзных норм технологического проектирования предприятий машиностроения, приборостроения и металлообработки. Цеха металлопокрытий», ОНТП 05-86, утвержденных Минавтопромом 05.03.86 по согласованию с ГКНТ СССР и Госстроем СССР от 30.12.85 г., 45-1246.
Приложение 3

Электрододержатель для угольного электрода
- угольный электрод;
- защитный экран;
- диэлектрическая рукоятка;
- сварочный кабель.
Приложение 4

Электроды из графитированного угля
Приложение 5
Сварочные флюсы
Примечание.
Флюсы содержат в герметически закрывающейся стеклянной таре.
Приложение 6

Кантователь трехфазных секций токопроводов
- разъемный обод;
- ролики;
- оси роликов;
- стойки;
- основание;
- полки с зажимами.
Соединение между собой проводников прямоугольного сечения выполняется с помощью болтов, шпилек или сжимов. Число болтов определяется размерами шин. Силу сжатия контактных поверхностей целесообразнее обеспечивать применением нескольких болтов меньшего сечения, чем одного болта большего сечения, так как в первом случае количество контактных пятен получается больше. В результате переходное сопротивление соединения уменьшается и происходит более равномерное распределение тока по контактной площади. Плоские и штыревые контактные выводы электротехнических устройств выполняют согласно ГОСТ 21242-75.
Соединения нескольких фазы между собой выполняют путем укладки их в переплет, а не попарно, так как в последнем случае контактная поверхность получается значительно меньшей, а переходное сопротивление - большим.
При прохождении электрического тока детали контактного соединения нагреваются и вследствие нагрева расширяются. Особенно значительный нагрев и расширение происходят при коротком замыкании. Расширение не одинаково по всему контактному соединению, так как его детали имеют разные коэффициенты линейного расширения.
Болты соединений медных и алюминиевых шин работают в неблагоприятных условиях, поскольку коэффициент линейного расширения стального болта меньше, чем медной или алюминиевой шины: кроме того, болты при коротком замыкании всегда нагреваются значительно меньше, чем шины.
В режиме короткого замыкания на болты действуют дополнительные силы, которые, складываясь с силой затяжки болта, могут привести к остаточным деформациям и ослаблению контактного соединения при понижении температуры. Чем больше толщина пакета шин, тем большие механические напряжения возникают в стягивающих болтах. Эти напряжения могут быть снижены применением тарельчатых пружин.
Тарельчатые пружины электротехнического назначения изготавливаются по ГОСТ 17279-71 двух типов:
Ш- пружины для поддержания контактного давления в соединениях шин,
К - пружины для поддержания контактного давления в соединениях кабельных наконечников с выводами электрооборудования, имеющими уменьшенную контактную плоскость по сравнению с шинами
Основные параметры пружин приведены на рис.1.

Рис. 1. Тарельчатая пружина.
Допускается выполнять соединения без применения тарельчатых пружин, но с установкой со стороны алюминия утолщенной шайбы под головку болта или под гайку. Размеры нормальных (ГОСТ 11371-78) и увеличенных (ГОСТ 6958-78) шайб приведены в справочных таблицах.
Длина перекрытия (нахлеста) соединяемых элементов в контактном соединении при одном или четырех болтах редко превышает ширину шины, а при двух болтах составляет от 1,5 до 2 размеров ширины шины.
Уменьшение переходного сопротивления контактного соединения достигается повышением давления и понижением жесткости.

Рис 2. Контактное соединение шин с продольным разрезом.
Для уменьшения жесткости контактного соединения на шинах делают продольные разрезы шириной 3- 4 мм, длиной 50 мм (рис. 2).
Болты в соединении выбирают, исходя из требующихся удельных давлений между контактными поверхностями кажущейся плотности тока и допустимых растягивающих усилий для болтов. Рекомендуемые удельные давления в контактных соединениях, МПа, в зависимости от материала контактного соединения приведены ниже.
Медь луженая - 0,5 - 10,0
Медь, латунь, бронза нелуженые - 0,6- 12,0
Алюминий - 25,0
Сталь луженая - 10,0 - 15,0
Сталь нелуженая - 60,0
Длина болтов выбирается таким образом, чтобы после сборки и затяжки соединений оставалось не менее двух ниток свободной резьбы.
Затяжку болтов контактных соединений производят гаечным ключом, обеспечивая значения крутящих моментов, приведенные в справочных таблицах.
Затяжку болтов на соединениях с тарельчатыми пружинами производят в два приема. Вначале болт затягивают до полного сжатия тарельчатой пружины, затем соединение ослабляют поворотом ключа в обратную сторону на 1/4 оборота для болтов Мб и М12 и на 1/6 оборота для остальных болтов.

Рис. 3. Соединение медной жилы с плоским выводом из меди или сплава алюминия: а - для болтов до М8, б - для всех размеров болтов, 1 - вывод, 2 - наконечник, 3 - шайба, 4 - болт, 5 - шайба пружинная, 6 - гайка, 7 - жила.
Присоединение плоских проводников к плоским выводам из меди или алюминиевого сплава (рис. 3) производится с помощью стальных болтов (ГОСТ 7798-70), гаек (ГОСТ 5915-70) и шайб (ГОСТ 11371-78), а к выводам из алюминия - с применением средств стабилизации контактного давления: тарельчатых пружин или крепежных изделий из медных или алюминиевых сплавов с коэффициентом линейного расширения (18-21) х 10-6 °С-1 (рис. 4).
При сборке соединения с тарельчатыми пружинами со стороны алюминиевого вывода ставят увеличенную, а со стороны медной лапки наконечника - нормальную шайбу. В соединениях с тарельчатыми пружинами контргайки не применяют.

Рис. 4. Соединение медной жилы с плоским выводом из алюминия: а - с применением тарельчатых пружин, б - с применением крепежных деталей из цветных металлов, 1 - вывод, 2 - медный наконечник, 3 - шайба пружинная, 4 - болт стальной, 5 - гайка стальная, 6 - шайба стальная увеличенная, 7 - пружина тарельчатая, 8 - жила медная, 9 - болт из цветного металла, 10 - гайка из цветного металла, 11 - шайба из цветного металла.
Если тарельчатые пружины или болты и гайки из цветных металлов необходимых размеров отсутствуют подсоединение можно выполнять с применением увеличенной шайбы при условии, что переходное сопротивление и температура нагрева соединения окажутся в заданных пределах.

Рис. 5. Присоединение двух наконечников к плоскому выводу.
В тех случаях, когда контактные соединения эксплуатируется в помещении с относительной влажностью более 80% и температурой не ниже 20°С или в химически активной среде, оно выполняется с помощью переходных медно-алюминиевых пластин. Непосредственное соединение медной жилы с алюминиевым выводом может выполняться в том случае, когда алюминиевый вывод имеет защитное металлопокрытие.

Рис. 6. Переходные детали для подключения к выводам более двух наконечников.
При выполнении подсоединения, к плоскому выводу двух жил кабеля наконечники следует располагать по обеим сторонам плоского зажима (рис. 5) для того, чтобы обеспечить наименьшее переходное сопротивление и сохранить более равномерное токораспределение. Если к выводу нужно подсоединить более двух наконечников или отверстие вывода не соответствует отверстию наконечника, используют переходные детали. К переходной детали наконечники подсоединяются симметрично (рис. 6).
Присоединение плоских медных проводников и наконечников к штыревым выполняется при помощи стандартных гаек из меди и ее сплавов. Соединения при номинальных токах до 30 А выполняют с помощью стальных гаек, покрытых оловом, никелем или кадмием.

Рис. 7. Присоединение наконечника к штыревому выводу: 1 - наконечник, 2 - гайка медная увеличенная, 3 - гайки стальные, 4 - штыревой вывод, 5 - жила.

Рис. 8. Соединение двух наконечников со штыревым выводом: 1 - наконечники, 2- гайки, 3- штыревой вывод.
Алюминиевые плоские проводники при токах до 250 А присоединяются так же, как медные, а при токах от 250 до 400 А для присоединения применяют увеличенные упорные гайки (рис. 7).
Присоединение двух наконечников к штыревому выводу (рис. 8) необходимо выполнять симметрично, а при подсоединении более двух наконечников используют переходные детали.
При токах более 400 А следует использовать медно-алюминиевые наконечники или армировать (плакировать) концы шин.
Подсоединение круглых проводников к плоским и штыревым выводам производится после формирования их в виде кольца с помощью шайб-звездочек. Лапки шайб-звездочек при закручивании винта или гайки не должны касаться поверхности вывода или упорной гайки, чтобы колечко жилы было надежно прижато к зажиму.
Кольцо провода укладывается под головку болта или гайки так, чтобы оно при закручивании болтов или гаек не выдавливалось из-под них (рис. 9). В тех случаях, когда алюминиевая однопроволочная жила оконцована кольцевым наконечником (пистоном), шайба-звездочка не применяется.

Рис. 9. Соединение алюминиевой жилы сечением до 10 мм2 с выводами: а - плоским, б - штыревым, 1 - винт, 2 - шайба пружинная, 3 - шайба-звездочка, 4 - жила, изогнутая в кольцо, 5 - зажим плоский, 6 - штыревой вывод, 7 - гайка.

Рис. 10. Соединение медной жилы сечением до 10 мм2 с выводами: а, б - плоским, в, г - штыревым, 1 - винт, 2 - шайба пружинная, 3- шайба, 4 - однопроволочная жила, изогнутая в кольцо, 5 - плоский зажим, 6 - штыревой зажим, 7 - гайка, 8 - жила, оконцоваииая плоским или кольцевым наконечником.
Медные жилы сечением до 10 мм2 соединяются с плоскими и штыревыми выводами с помощью винтов, шайб, пружинных шайб и гаек (рис. 10). При подсоединении жил, оконцованных наконечником (пистоном), шайба не используется.
Рис. 11. Соединение алюминиевой многопроволочной жилы с цилиндрическим зажимом: а - с применением штифтового наконечника, б - после сплавления конца жилы в монолит с добавкой легирующих присадок, 1 - корпус, 2 - прижимный винт, 3 - штифтовой наконечник, 4 - жила многопроволочная, 5 - конец жилы, сплавленный в монолит.
С винтовыми зажимами для втычного присоединения алюминиевые или медные многопроволочные жилы могут соединяться после оконцевания штифтовым наконечником или после сплавления конца жилы в монолит с добавкой легирующих присадок.









